授权公布号:CN216165837U
一种可收纳漏斗的便携容器
有效
申请
2021-11-01
申请公布
1970-01-01
授权
2022-04-05
预估到期
2031-11-01
| 申请号 | CN202122648650.5 |
| 申请日 | 2021-11-01 |
| 授权公布号 | CN216165837U |
| 授权公告日 | 2022-04-05 |
| 分类号 | A45F3/16;B67C11/02 |
| 分类 | 手携物品或旅行品; |
| 申请人名称 | 佛山市铠斯钛科技有限公司 |
| 申请人地址 | 广东省佛山市南海区丹灶镇建沙路东三区3号联东优谷园18座101室 |
专利法律状态
2022-04-05
授权
状态信息
授权
摘要
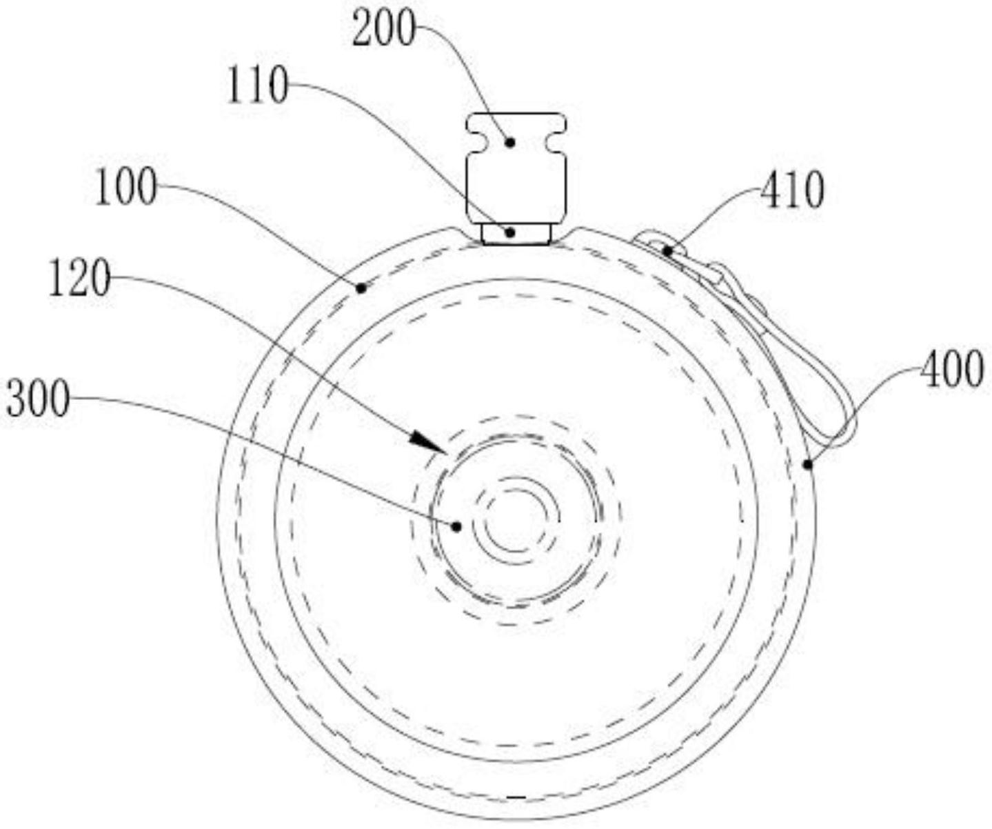
本实用新型公开了一种可收纳漏斗的便携容器,包括壶体、壶盖、漏斗和壶体皮套,壶体设有相对凸起的壶嘴,壶体设有藏纳凹部;壶盖与壶嘴可拆卸连接;漏斗置于藏纳凹部内,漏斗靠近藏纳凹部开口的端部与壶体的外壁相持平,或漏斗靠近藏纳凹部开口的端部位于藏纳凹部内,漏斗的出液管与壶嘴可拆卸配合;壶体皮套可拆卸地套设于壶体的外壁。通过在壶体设置相对内凹的藏纳凹部,以使漏斗能置于藏纳凹部内,实现藏纳漏斗;再通过壶体皮套套设在壶体外壁,既封堵藏纳凹部的开口,有效避免用户携带容器时漏斗从藏纳凹部中掉落出来,方便用户携带漏斗,又能有效避免用户携带容器时弄脏壶体,提高容器的整洁度。


