授权公布号:CN204943124U
沙漏灯
失效
申请
2015-09-15
申请公布
1970-01-01
授权
2016-01-06
预估到期
2025-09-15
| 申请号 | CN201520710659.6 |
| 申请日 | 2015-09-15 |
| 授权公布号 | CN204943124U |
| 授权公告日 | 2016-01-06 |
| 分类号 | F21S6/00;F21V33/00;F21V23/00;F21W121/00N;F21Y101/02N |
| 分类 | 照明; |
| 申请人名称 | 汕头市随想曲贸易有限公司 |
| 申请人地址 | 广东省汕头市金平区利安路12号1座03房 |
专利法律状态
2023-09-22
专利权的终止
状态信息
未缴年费专利权终止;IPC(主分类):F21S6/00;专利号:ZL2015207106596;申请日:20150915;授权公告日:20160106;终止日期:
2017-05-03
著录事项变更
状态信息
著录事项变更;IPC(主分类):F21S6/00;变更事项:发明人;变更前:林佳艺;变更后:邱诗楷
2017-05-03
专利申请权、专利权的转移
状态信息
专利权的转移;IPC(主分类):F21S6/00;登记生效日:20170414;变更事项:专利权人;变更前:嘉兴职业技术学院;变更后:汕头市随想曲贸易有限公司;变更事项:地址;变更前:314036 浙江省嘉兴市桐乡大道547号;变更后:515000 广东省汕头市金平区利安路12号1座03房
2016-01-06
授权
状态信息
授权
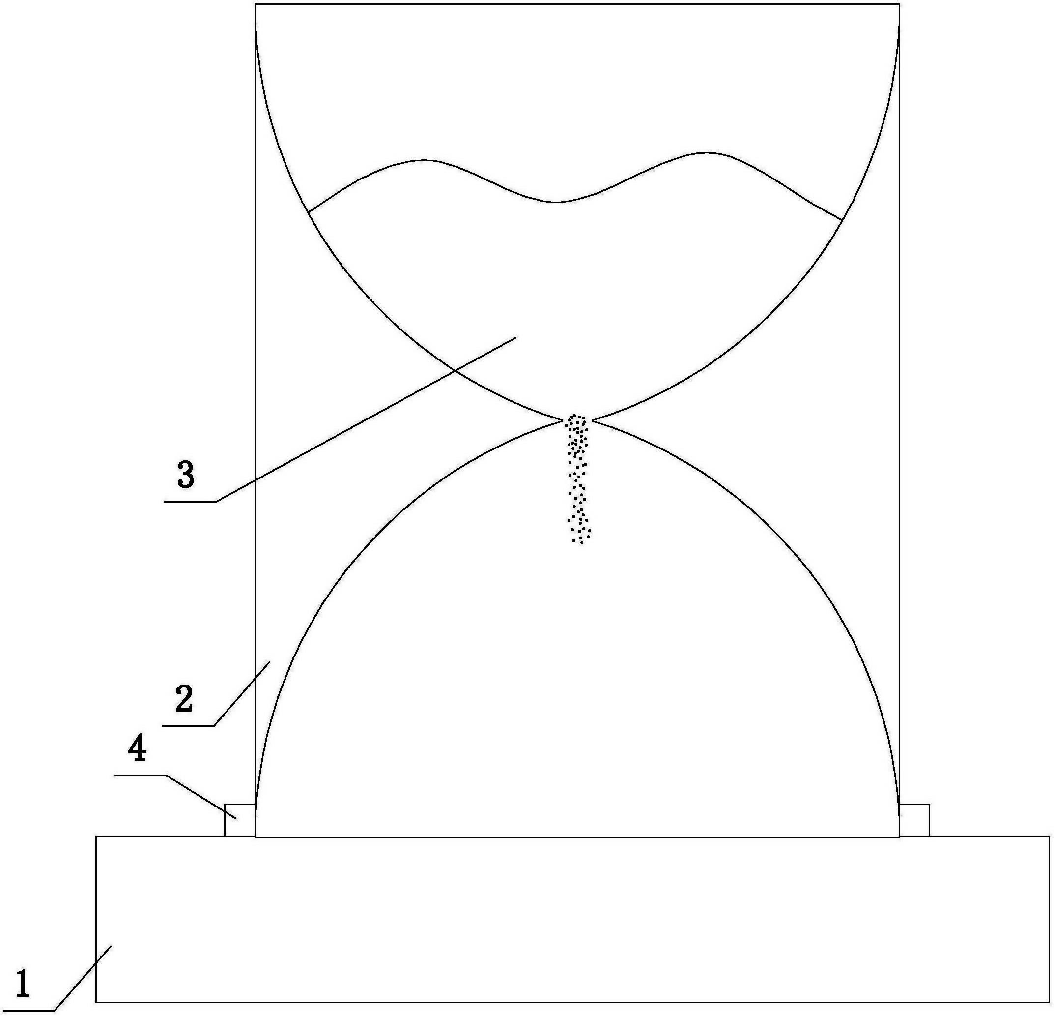
摘要
本实用新型提出一种沙漏灯,使用方便,具有装饰性,同时结构简单,它包括底座(1)、透明的沙漏(2),沙漏(2)内装有透光的沙子(3),沙漏(2)放置在底座(1)上,底座(1)的在沙漏(2)的底面所覆盖的区域设有向上照射的LED发光单元,底座(1)设有开关和插头,插头、开关、LED发光单元依序电连接。


