授权公布号:CN208448673U
一种阿胶生产用提沫机
有效
申请
2018-06-22
申请公布
1970-01-01
授权
2019-02-01
预估到期
2028-06-22
| 申请号 | CN201820967547.2 |
| 申请日 | 2018-06-22 |
| 授权公布号 | CN208448673U |
| 授权公告日 | 2019-02-01 |
| 分类号 | B01D1/30 |
| 分类 | 一般的物理或化学的方法或装置; |
| 申请人名称 | 山东东阿鑫澳润阿胶制品有限公司 |
| 申请人地址 | 山东省聊城市东阿县东外环与S329交叉口北600米路西 |
专利法律状态
2019-02-01
授权
状态信息
授权
摘要
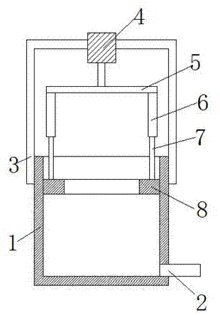
本实用新型公开了一种阿胶生产用提沫机,包括罐体,所述罐体的侧壁的上端焊接有支架,支架的上端与电动机的壳体固定连接,电动机的输出端通过螺丝连接有横杆,横杆的两端焊接有竖直设置的固定杆,固定杆的下端开设有安装槽,安装槽内插设有伸缩杆,伸缩杆的下端与提沫块胶接连接,本装置使用时,通过罐体内部的电热丝对阿胶进行加热,加热过程中,通过电动机带动横杆转动,横杆能够带动提沫块转动,由于提沫块中含有浮块,使得提沫块浮在阿胶的上端,提沫块转动时能够使得阿胶发生搅动,当阿胶的液面上有漂浮物产生时,漂浮物会随着阿胶的流动穿过挡板,最终被吸附块吸附,整个操作过程方便简单。


