授权公布号:CN107673293B
化妆品包装瓶自动上片上盖装置及其工作方法
有效
申请
2017-10-31
申请公布
2018-02-09
授权
2023-04-28
预估到期
2037-10-31
| 申请号 | CN201711046835.0 |
| 申请日 | 2017-10-31 |
| 申请公布号 | CN107673293A |
| 申请公布日 | 2018-02-09 |
| 授权公布号 | CN107673293B |
| 授权公告日 | 2023-04-28 |
| 分类号 | B67B3/06;B67B3/20;B67B6/00 |
| 分类 | 开启或封闭瓶子、罐或类似的容器;液体的贮运; |
| 申请人名称 | 福建片仔癀化妆品有限公司 |
| 申请人地址 | 福建省漳州市芗城区琥珀路7号 |
专利法律状态
2023-04-28
授权
状态信息
授权
2018-02-09
公布
状态信息
公布
摘要
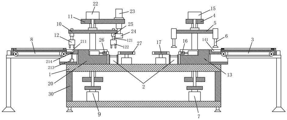
本发明涉及一种化妆品包装瓶自动上片上盖装置及其工作方法,包括回转输送机构,回转输送机构输入端和输出端处分别设有上片装置和上盖装置;上片装置包括上片输送机构、上片支撑架、上片换向板、设在上片换向板两端的上片吸盘,上片吸盘吸附手拉垫片后在上片换向板带动下旋转至回转输送机构上方,将手拉垫片放置在瓶体上;上盖装置包括上盖输送机构、上盖支撑架、上盖换向板、设在上盖换向板两端的抓盖头、旋盖机构,抓盖头抓取瓶盖后在上盖换向板带动下旋转至回转输送机构上方,将瓶盖放置在瓶体上,旋盖机构驱使抓盖头转动进行旋盖。本发明结构紧凑、设计合理,可实现包装瓶自动化上片和上盖,生产效率高、人工劳动强度小,可大批量生产。


