授权公布号:CN216338515U
一种压花机
有效
申请
2021-12-10
申请公布
1970-01-01
授权
2022-04-19
预估到期
2031-12-10
| 申请号 | CN202123107101.3 |
| 申请日 | 2021-12-10 |
| 授权公布号 | CN216338515U |
| 授权公告日 | 2022-04-19 |
| 分类号 | D06C23/04;D06C11/00 |
| 分类 | 织物等的处理;洗涤;其他类不包括的柔性材料; |
| 申请人名称 | 焦作隆丰皮草企业有限公司 |
| 申请人地址 | 河南省焦作市孟州市产业集聚区5号 |
专利法律状态
2023-10-10
专利申请权、专利权的转移
状态信息
专利权的转移;IPC(主分类):D06C 23/04;专利号:ZL2021231071013;登记生效日:20230919;变更事项:专利权人;变更前权利人:焦作隆丰皮草企业有限公司;变更后权利人:隆丰革乐美时尚有限公司;变更事项:地址;变更前权利人:454750 河南省焦作市孟州市西工业区5号;变更后权利人:454750 河南省焦作市孟州市产业集聚区5号
2022-04-19
授权
状态信息
授权
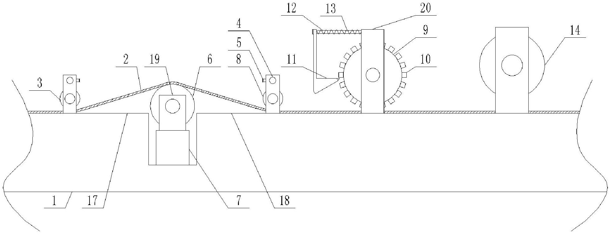
摘要
本实用新型涉及毛革生产技术领域的一种压花机,包括机架及压花辊,机架上设有传送平台,压花辊左侧的传送平台上设有理料组件;理料组件包括依次设置且互相配合的前压辊、顶料辊、后压辊及理毛辊;前压辊、顶料辊、后压辊及理毛辊高度可调节,传送平台分为平台一及平台二,平台一上设有输送带一,平台二上设有输送带二,理毛辊连接有驱动电机。本实用新型结构合理,操作简便,可在压花前对羊剪绒进行打散及梳理,使压花时的羊剪绒的毛毛更加疏散整齐,提高了压花的效果及产品的质量;可适应不同厚度的羊剪绒及其他毛革的压花,实用性强,适用范围广。


