授权公布号:CN214388713U
双驱动三导向装置
有效
申请
2021-02-22
申请公布
1970-01-01
授权
2021-10-15
预估到期
2031-02-22
| 申请号 | CN202120394831.7 |
| 申请日 | 2021-02-22 |
| 授权公布号 | CN214388713U |
| 授权公告日 | 2021-10-15 |
| 分类号 | A63B22/20;A63H29/00 |
| 分类 | 运动;游戏;娱乐活动; |
| 申请人名称 | 扬州蓝色城堡工艺品有限公司 |
| 申请人地址 | 江苏省扬州市江都区邵伯镇南渡村 |
专利法律状态
2021-10-15
授权
状态信息
授权
摘要
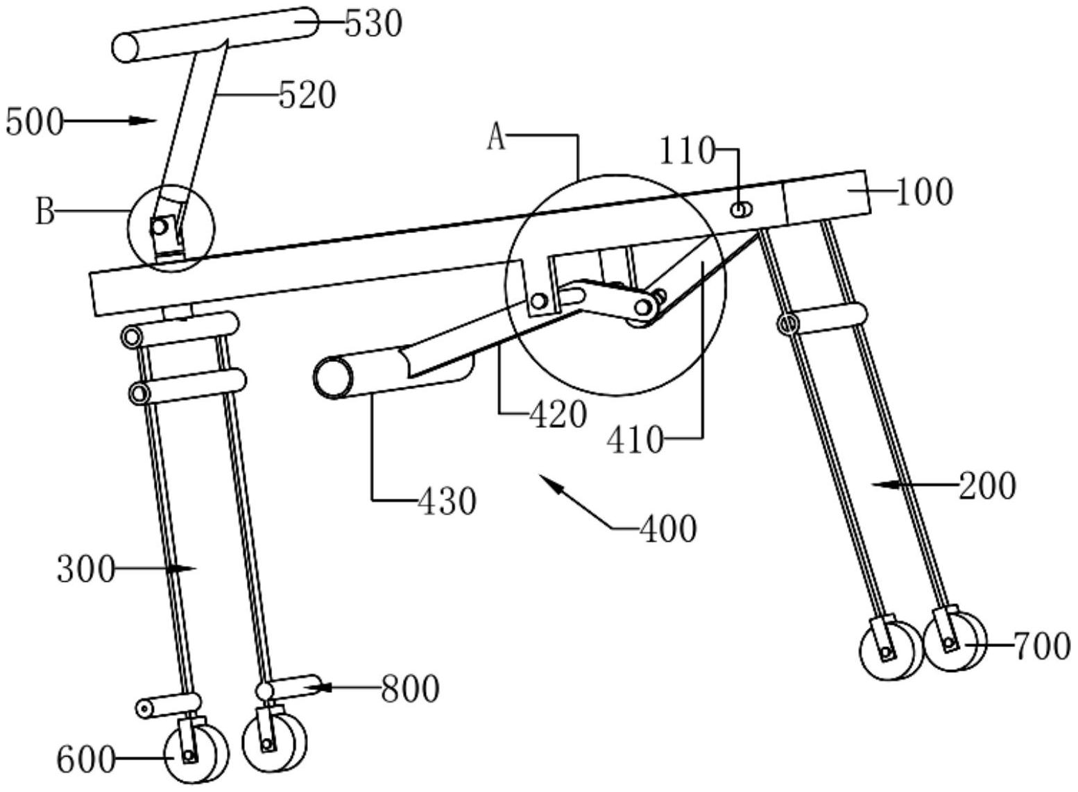
本实用新型涉及一种双驱动三导向装置,属于移动设备技术领域,包括机架、后腿机构和前腿机构,所述机架一端水平设置有水平轴,所述水平轴转动连接后腿机构;在所述机架下侧设置有带动所述后腿机构沿所述水平轴向前或向后转动的第一驱动机构;所述机架另一端沿竖直方向转动连接有竖直轴,所述竖直轴下端连接前腿机构,在所述竖直轴上端连接有导向机构;所述前腿机构的下端设置有第一单向轮,在所述后腿机构的下端设置有第二单向轮。通过采用上述方案,通过第一驱动机构、导向机构控制前腿机构和后腿机构向前移动,具备多种驱动模式及多种转向控制方式,且该装置结构精简,加工成本相对较低,装配、调整、维护、移动时相对方便、简单。


