授权公布号:CN210765908U
一种原液着色出租司机健康袜的上色装置
有效
申请
2019-07-09
申请公布
1970-01-01
授权
2020-06-16
预估到期
2029-07-09
| 申请号 | CN201921063539.6 |
| 申请日 | 2019-07-09 |
| 授权公布号 | CN210765908U |
| 授权公告日 | 2020-06-16 |
| 分类号 | D06B3/30 |
| 分类 | 织物等的处理;洗涤;其他类不包括的柔性材料; |
| 申请人名称 | 湖南莎丽袜业股份有限公司 |
| 申请人地址 | 湖南省益阳市赫山区龙岭工业园 |
专利法律状态
2020-06-16
授权
状态信息
授权
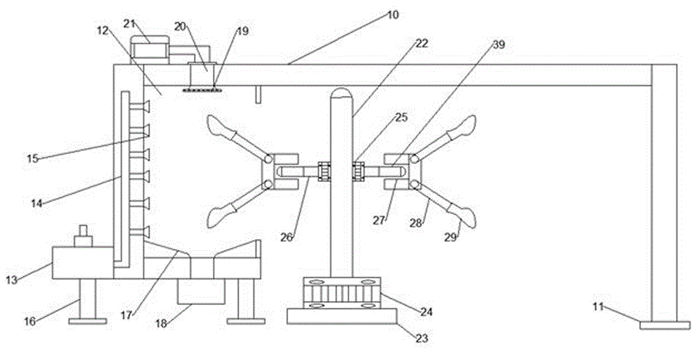
摘要
本实用新型涉及纺织器械技术领域,公开了一种原液着色出租司机健康袜的上色装置,包括支架和上色室;上色室的左侧自上而下设置有若干组喷枪,喷枪的内部末端伸入到上色室的内部并且连通有气管,气管的底端连通有固定于上色室左侧壁上的蒸汽泵;上色室的左侧设置有竖直的第一旋转轴,第一旋转轴的中部两侧固定安装有两组第二电机,第二电机的外侧输出端转动连接有横向的卡槽,卡槽的末端固定安装有插销,插销上可拆卸式安装有卡槽,卡槽的一侧上下部固定安装有倾斜的连接杆,连接杆的末端固定安装有袜套。本实用新型的优点是:健康袜着色质量高,工作持续时间长,效率高,自动化程度高。


