授权公布号:CN216725260U
消毒柜
有效
申请
2021-01-08
申请公布
1970-01-01
授权
2022-06-14
预估到期
2031-01-08
| 申请号 | CN202120054980.9 |
| 申请日 | 2021-01-08 |
| 授权公布号 | CN216725260U |
| 授权公告日 | 2022-06-14 |
| 分类号 | A61L2/08;A61L2/10;A61L2/20;A61L2/04;A61L2/26;A61L101/10N |
| 分类 | 医学或兽医学;卫生学; |
| 申请人名称 | 宁波优贝儿童用品有限公司 |
| 申请人地址 | 浙江省宁波市江北区长兴路8号3幢1楼 |
专利法律状态
2022-06-14
授权
状态信息
授权
摘要
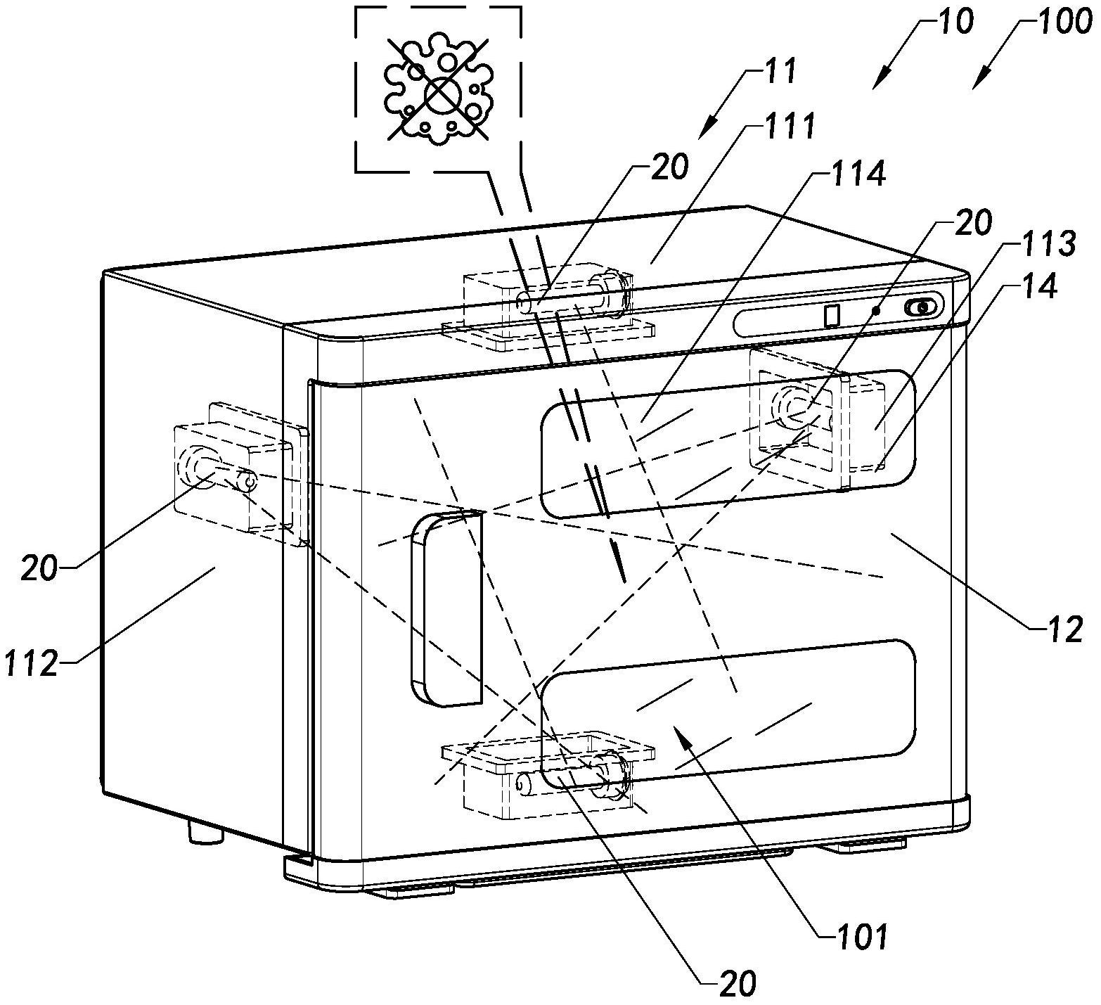
本实用新型公开了一消毒柜,其中所述消毒柜包括一消毒柜主体和至少两个消毒模块,其中所述消毒柜主体包括一容纳件和一封闭件,其中所述容纳件具有一消毒空间,其中所述封闭件被可活动地安装于所述容纳件,以封闭所述消毒空间,其中至少两个消毒模块分别被设置于所述消毒柜主体的至少两个面,至少两个所述消毒模块能够同时朝向所述消毒空间内产生一消毒因子,有利于提高了所述消毒柜的消毒效率,缩减了对放入所述消毒柜内的以待消毒物品的消毒时间,节省了用户的等待时间。


