授权公布号:CN215041004U
一种棉盖涤弹性面料
有效
申请
2021-04-20
申请公布
1970-01-01
授权
2021-12-07
预估到期
2031-04-20
| 申请号 | CN202120816001.9 |
| 申请日 | 2021-04-20 |
| 授权公布号 | CN215041004U |
| 授权公告日 | 2021-12-07 |
| 分类号 | B32B27/02;B32B27/40;B32B27/36;B32B27/34;B32B27/12;B32B9/02;B32B9/04;B32B3/24;B32B3/08 |
| 分类 | 层状产品; |
| 申请人名称 | 杭州拓路者服饰有限公司 |
| 申请人地址 | 浙江省杭州市萧山区经济技术开发区红垦农场红泰四路11号 |
专利法律状态
2021-12-07
授权
状态信息
授权
摘要
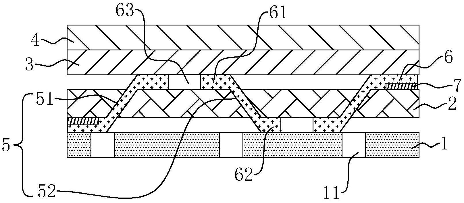
本申请涉及一种棉盖涤弹性面料,包括棉盖涤基层,所述棉盖涤基层上沿长度方向设置有若干呈波浪状的弹性带,所述弹性带沿棉盖涤基层的宽度方向设置,所述弹性带多次穿过棉盖涤基层,并且弹性带的两端分别设置在棉盖涤基层宽度方向上的两端;所述弹性带包括凸起的波峰段与凹陷的波谷段,所述波峰段与波谷段分别位于棉盖涤基层的两端面上;所述弹性带处于绷紧状态;本申请具有增加面料弹性的作用。


