授权公布号:CN218196174U
一种瑜伽垫生产用原料进料机构
有效
申请
2022-10-17
申请公布
1970-01-01
授权
2023-01-03
预估到期
2032-10-17
| 申请号 | CN202222730863.7 |
| 申请日 | 2022-10-17 |
| 授权公布号 | CN218196174U |
| 授权公告日 | 2023-01-03 |
| 分类号 | B29B7/16;B29B7/22;B29B7/24;B29B13/10 |
| 分类 | 塑料的加工;一般处于塑性状态物质的加工; |
| 申请人名称 | 福清市胜德塑胶制品有限公司 |
| 申请人地址 | 福建省福州市福清市高山凤岗工业区 |
专利法律状态
2023-01-03
授权
状态信息
授权
摘要
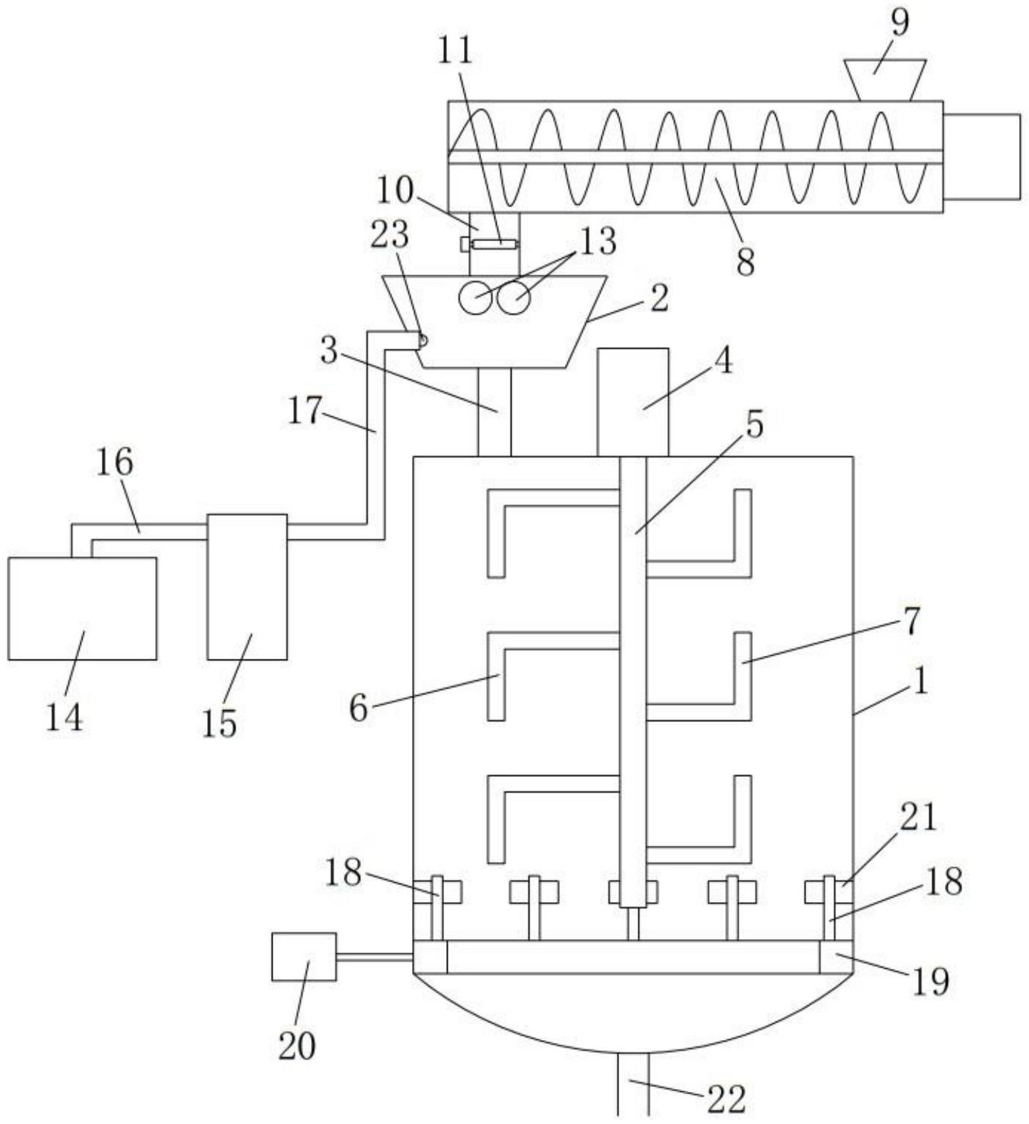
本实用新型涉及一种瑜伽垫生产用原料进料机构,包括设有搅拌组件的混合筒、进料筒、固体原料输送组件、原料输送组件,进料筒底部与混合筒顶部相连接;固体原料输送组件包括输送绞龙,输送绞龙一端设有固体原料输入口、另一端设有固体原料输出口,固体原料输出口与进料筒顶部连接;液体原料输送组件包括原料放置箱和吸料机,吸料机与原料放置箱相连接,吸料机输出端与进料筒的下端侧壁相连接。通过设置进料筒,固体原料和液体原料同时往进料筒输送,使得液体原料先与固体原料相接触后再进入混合筒,有效减少固体原料粘结成块的现象;同时固体原料和液体原料可进行自动上料,与传统人工上料的方式相比,有效提高上料效率,降低人工劳动强度。


