授权公布号:CN213161143U
一种食品加工用食品混合粉碎机
有效
申请
2020-07-28
申请公布
1970-01-01
授权
2021-05-11
预估到期
2030-07-28
| 申请号 | CN202021516045.1 |
| 申请日 | 2020-07-28 |
| 授权公布号 | CN213161143U |
| 授权公告日 | 2021-05-11 |
| 分类号 | B02C18/10;B02C18/16;B02C18/22;B02C23/14;B02C23/16;B08B3/02;B02C1/14;B08B9/093 |
| 分类 | 破碎、磨粉或粉碎;谷物碾磨的预处理; |
| 申请人名称 | 江西省绿滋肴实业有限公司 |
| 申请人地址 | 江西省南昌市南昌县小蓝经济开发区小蓝中大道518号 |
专利法律状态
2021-05-11
授权
状态信息
授权
摘要
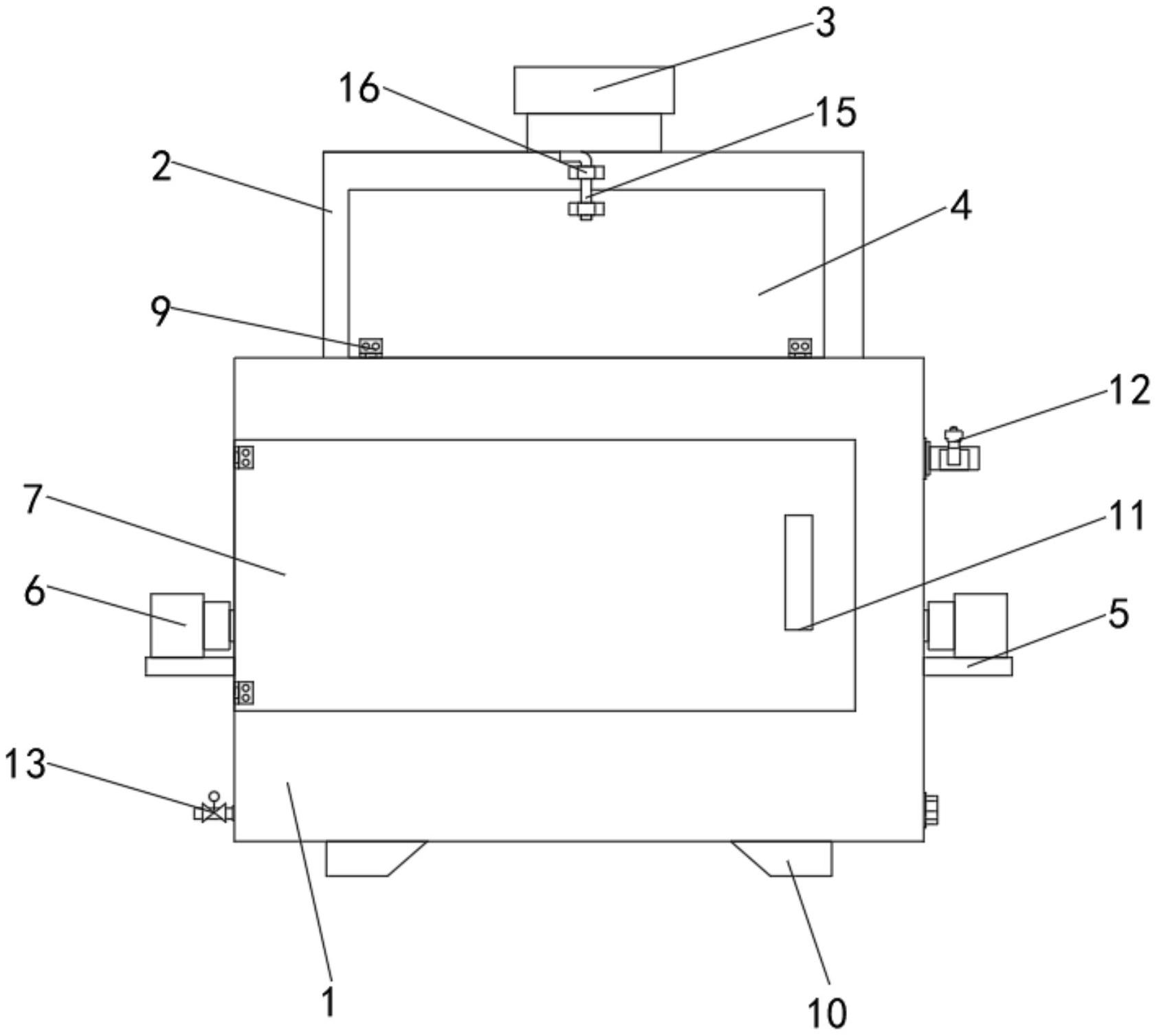
本实用新型公开了一种食品加工用食品混合粉碎机,包括加工箱体、筛选箱体和收集箱,所述筛选箱体的表面通过合页活动安装有第一遮挡门,所述筛选箱体的上表面中部固定安装有第一电动推杆,所述第一电动推杆的一端固定连接有连接杆,连接杆的一端贯穿加工箱体的内部,连接杆的底部固定安装有锯齿板,且所述筛选箱体内部的底部也固定安装有锯齿板,所述筛选箱体内部的底部固定设置有筛孔,所述筛孔的底部固定连接有连接管道,所述连接管道与粉碎箱的内部相连通,该实用新型通过安装有筛分机构可以对大小不同的原料进行分选,以便于后期更好的进行粉碎,此外该装置的粉碎机构可以拆卸,便于后期对刀片或者齿轮进行清洗。


