授权公布号:CN215822317U
一种具有拉带防脱落结构的划船器
有效
申请
2021-09-18
申请公布
1970-01-01
授权
2022-02-15
预估到期
2031-09-18
| 申请号 | CN202122277950.7 |
| 申请日 | 2021-09-18 |
| 授权公布号 | CN215822317U |
| 授权公告日 | 2022-02-15 |
| 分类号 | A63B69/06 |
| 分类 | 运动;游戏;娱乐活动; |
| 申请人名称 | 壕氏健身器材(上海)有限公司 |
| 申请人地址 | 上海市松江区闵塔路579弄12号 |
专利法律状态
2022-02-15
授权
状态信息
授权
摘要
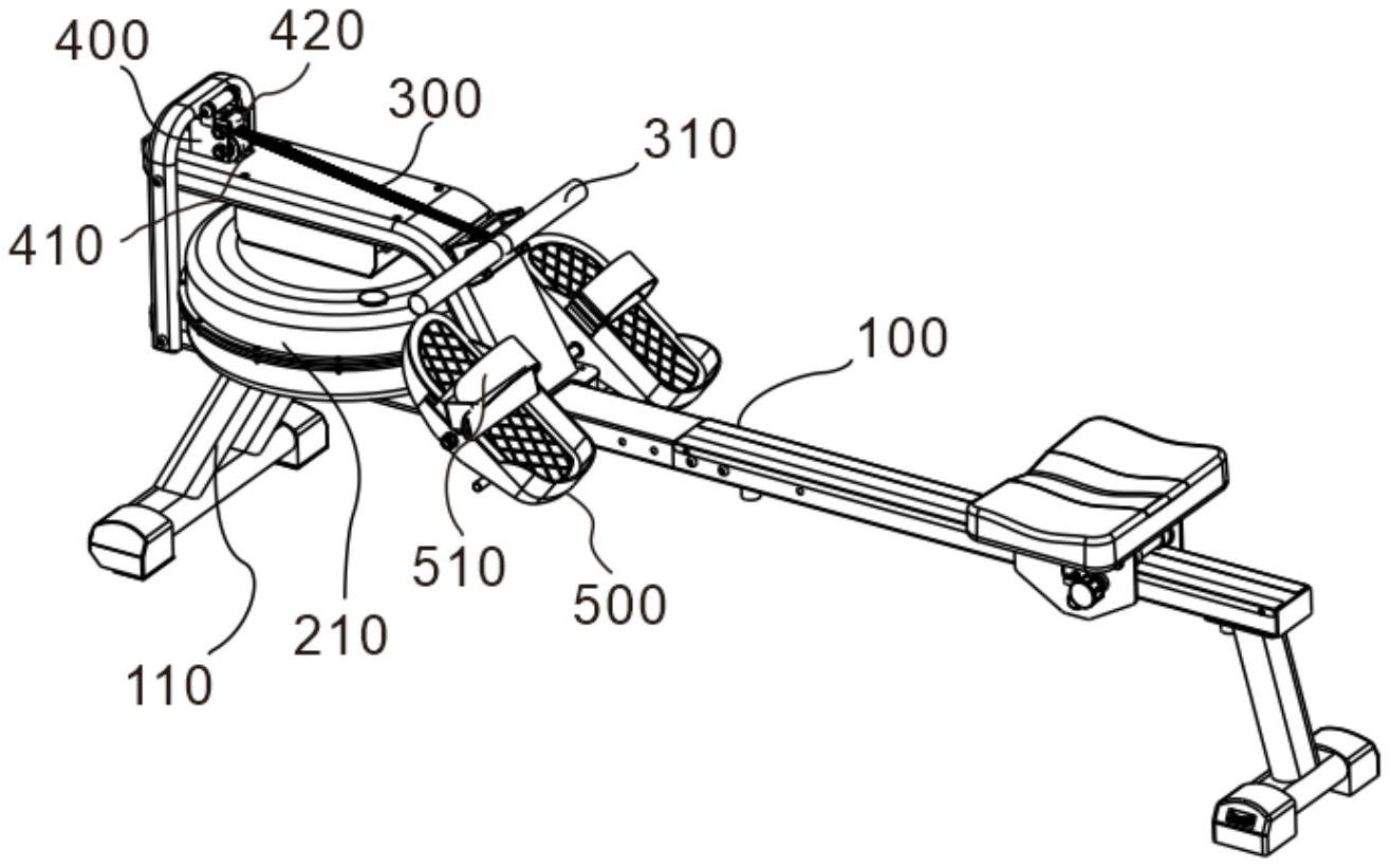
本实用新型涉及划船器,特别涉及一种具有拉带防脱落结构的划船器,其中包括主架,主架上安装有阻力机构和用于牵引阻力机构的拉带,拉带一端与阻力机构连接,另一端经滑轮固定座导向后与拉手把连接;滑轮固定座上固定有导向轮和压紧轮,导向轮的两端部均设有用于阻止拉带从导向轮脱出的挡板;位于两挡板之间的部分拉带,其两侧分别与导向轮和压紧轮轴向侧面相抵接。本实用新型提供的具有拉带防脱落结构的划船器,通过在导向轮上设置挡板以防止拉带沿轴向从导向轮上脱出,同时通过压紧轮可以对位于导向轮上的拉带进行限位和施压,进一步防止从导向轮上脱落,而且该划船器可进行侧拉和正拉,进一步提升用户的锻炼效果。


