授权公布号:CN116642163B
一种基于物联网的灯具无线控制装置及系统
有效
申请
2023-02-14
申请公布
2023-08-25
授权
2024-02-20
预估到期
2043-02-14
| 申请号 | CN202310123003.3 |
| 申请日 | 2023-02-14 |
| 申请公布号 | CN116642163A |
| 申请公布日 | 2023-08-25 |
| 授权公布号 | CN116642163B |
| 授权公告日 | 2024-02-20 |
| 分类号 | F21V23/00;H02S20/30;F21S9/03;F21W131/103N |
| 分类 | 照明; |
| 申请人名称 | 中山市八霖照明有限公司 |
| 申请人地址 | 广东省中山市古镇镇乐临街5号四楼和五楼 |
专利法律状态
2024-02-20
授权
状态信息
授权
2023-09-12
实质审查的生效
状态信息
实质审查的生效;IPC(主分类):F21V23/00;申请日:20230214
2023-08-25
公布
状态信息
公布
摘要
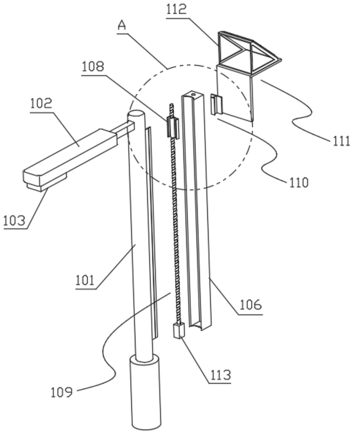
本发明涉及智能灯具技术领域,具体涉及一种基于物联网的灯具无线控制装置及系统;包括安装在道路旁的灯柱、安装臂、光源、控制器、太阳能电池板和升降机构,升降机构包括外壳、导轨、滑动座、升降组件、连接件、安装架和安装框,当需要对太阳能电池板进行更换或维护时,启动升降组件,由于升降组件的输出端与滑动座相对应,从而带动滑动座在导轨上滑动,进而带动连接件在滑槽上滑动,由于连接件远离滑动座的一端与安装架拆卸连接,从而使得安装架向地面的方向移动,进而带动安装框上的太阳能电池板下降至适应的位置后,便于工作人员对太阳能电池板进行维护或更换,操作更加方便。


