授权公布号:CN208592882U
一种智能型三七饮片切片机
有效
申请
2018-07-25
申请公布
1970-01-01
授权
2019-03-12
预估到期
2028-07-25
| 申请号 | CN201821185306.9 |
| 申请日 | 2018-07-25 |
| 授权公布号 | CN208592882U |
| 授权公告日 | 2019-03-12 |
| 分类号 | B26D1/09;B26D7/26;B26D5/12;B26D7/06;B26D7/32;B26D7/18 |
| 分类 | 手动切割工具;切割;切断; |
| 申请人名称 | 昆明轩庆生物科技有限公司 |
| 申请人地址 | 云南省昆明市高新技术开发区民办园十号地块 |
专利法律状态
2019-03-12
授权
状态信息
授权
摘要
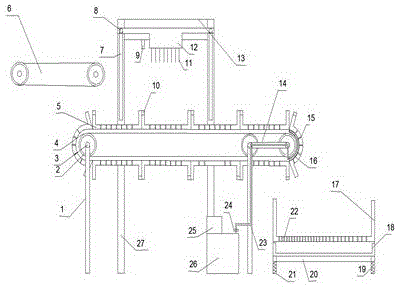
本实用新型提供一种智能型三七饮片切片机,包括切刀、切刀安装座、切刀支架、放料盘,所述的切刀安装在切刀安装座上,所述的切刀安装座连接在切刀支架上,所述的切刀支架上部设置有导轨,所述的切刀安装座两侧设置有滑动轴,滑动轴设置在导轨内与导轨滑动连接,滑动轴与液压装置相连接,所述的放料盘底座设置为链片式结构,放料盘设置有多个沿输送带均匀排布,所述的切刀安装座上设置有红外感应装置,所述的放料盘左侧挡边上设置有红外发射器,所述的红外感应装置通过导线与控制装置相连接,所述的液压装置和电机与控制装置相连接。本实用新型能够实现三七片切片机的全自动化生产,且生产效率高,制得的三七片中不含碎屑,切片机整体使用性强。


