授权公布号:CN210425880U
一种三七药材加工用烘干装置
有效
申请
2019-08-21
申请公布
1970-01-01
授权
2020-04-28
预估到期
2029-08-21
| 申请号 | CN201921360585.2 |
| 申请日 | 2019-08-21 |
| 授权公布号 | CN210425880U |
| 授权公告日 | 2020-04-28 |
| 分类号 | F26B11/06;F26B23/00;F26B25/16;F26B25/00;F26B25/12;F26B25/04 |
| 分类 | 干燥; |
| 申请人名称 | 昆明轩庆生物科技有限公司 |
| 申请人地址 | 云南省昆明市高新技术开发区民办园十号地块 |
专利法律状态
2020-04-28
授权
状态信息
授权
摘要
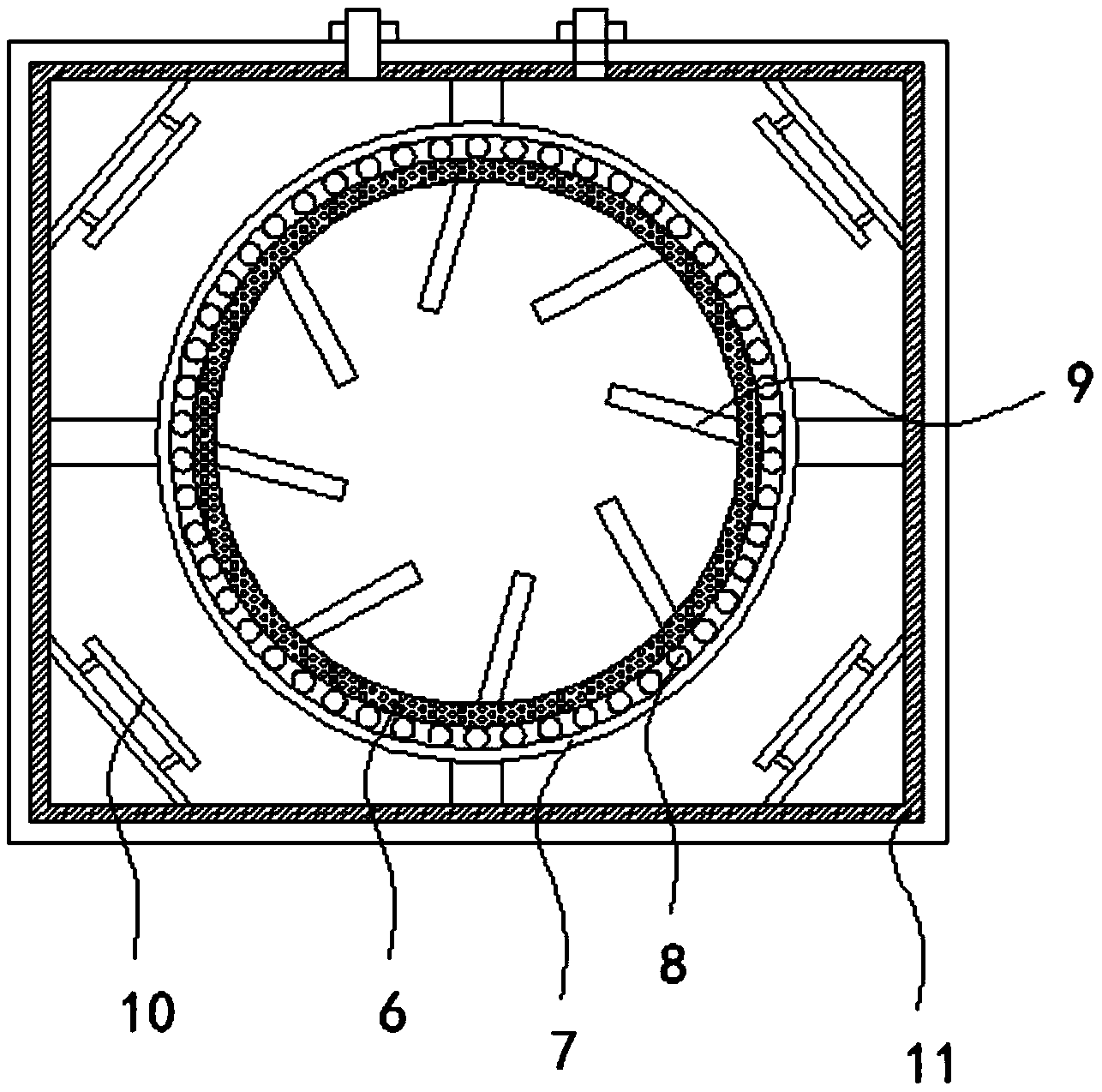
本实用新型公开了一种三七药材加工用烘干装置,包括烘干箱、控制箱、保温层和转筒,所述烘干箱上端开设有除湿口,所述控制箱固定在烘干箱右侧,并且控制箱上设有控制键,所述保温层设在烘干箱内壁上,并且保温层由陶瓷制成,所述转筒安装在烘干箱,并且转筒后端连接转动机,所述转动机安装在烘干箱后端,所述转筒上开设有通孔。本实用新型中通过设有转筒,转筒内部设有翻滚板,转动机带动转筒转动,并且转筒内部的翻滚板可以实现对三七药材进行翻滚,可以实现对三七药材的均匀烘干处理,在烘干箱内部的四个角落均设有加热管,加热管可以对转筒的四个方向进行热量传输处理,使转筒内部的三七药材受热均匀,可以实现对三七药材的均匀烘干处理。


