授权公布号:CN212192444U
一种电池外壳用磨边设备
有效
申请
2020-05-19
申请公布
1970-01-01
授权
2020-12-22
预估到期
2030-05-19
| 申请号 | CN202020841853.9 |
| 申请日 | 2020-05-19 |
| 授权公布号 | CN212192444U |
| 授权公告日 | 2020-12-22 |
| 分类号 | B24B9/02 |
| 分类 | 磨削;抛光; |
| 申请人名称 | 深圳市量品电子科技有限公司 |
| 申请人地址 | 广东省深圳市龙华区大浪街道同胜社区龙泉科技工业园2号401-1 |
专利法律状态
2020-12-22
授权
状态信息
授权
摘要
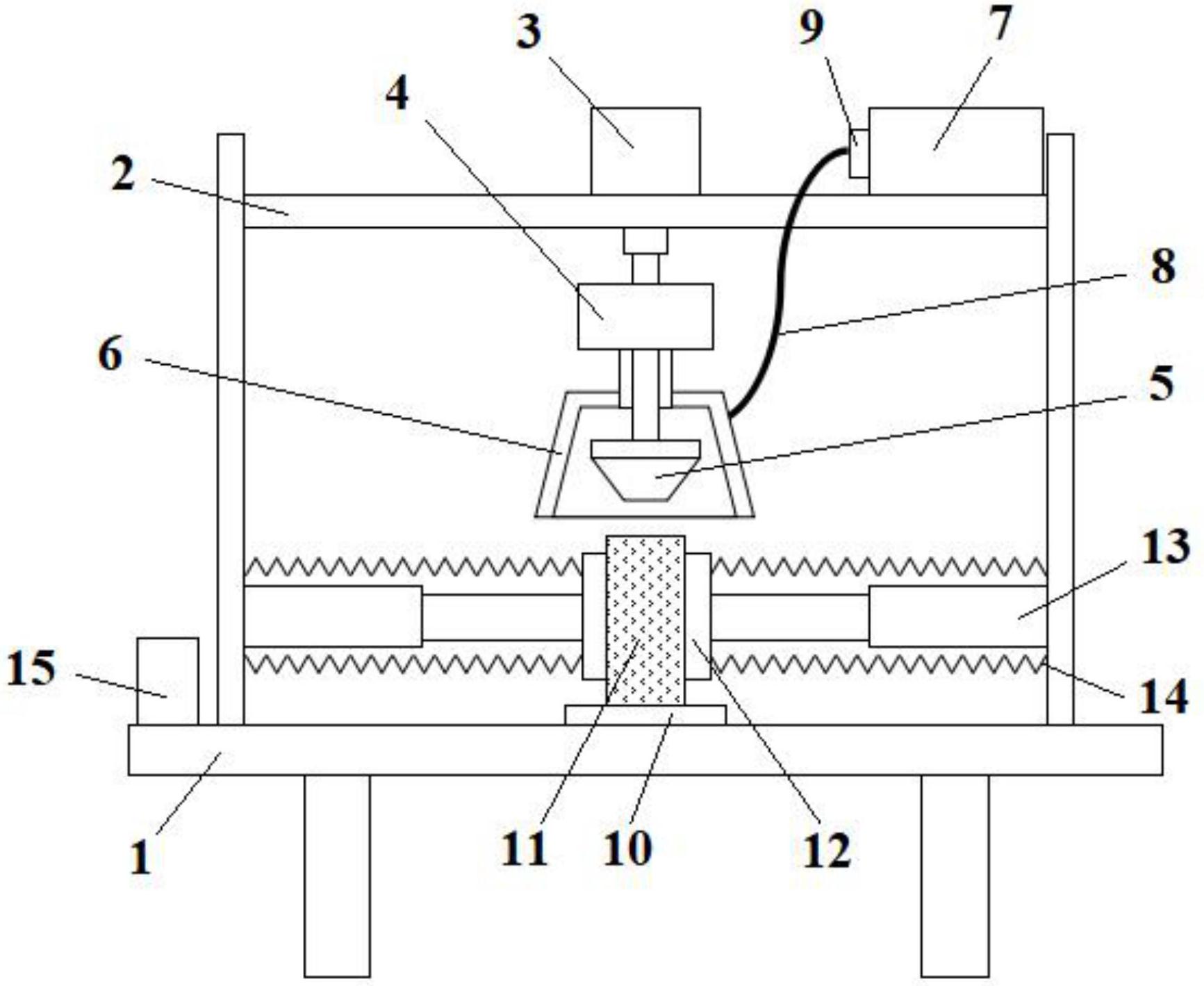
本实用新型公开了一种电池外壳用磨边设备,包括工作台,工作台的上方设有龙门架,其中龙门架的上方设有气缸,且气缸的输出端设有气动伸缩杆,龙门架的下方设有旋转电机,且旋转电机的输出轴转动连接由打磨头,打磨头的外侧套设有喇叭形集尘罩,放置座的两侧均设有与龙门架相连接的限位机构。本实用新型设计合理,结构简单,通过设置伺服电动伸缩杆可以实现物件的快速自动固定,无需人工操作,效率高,通过设置集尘罩、抽气泵和集尘箱可以在磨边过程中将打磨下来的废料物吸进集尘箱内,避免废料物飞散,同时设置波纹套管可以进一步保护伺服电动伸缩杆不会受废料物影响,保证设备可以稳定工作,具有推广价值。


