授权公布号:CN211964676U
一种毛笔笔杆打磨喷涂设备
有效
申请
2019-11-07
申请公布
1970-01-01
授权
2020-11-20
预估到期
2029-11-07
| 申请号 | CN201921911110.8 |
| 申请日 | 2019-11-07 |
| 授权公布号 | CN211964676U |
| 授权公告日 | 2020-11-20 |
| 分类号 | B05B13/02 |
| 分类 | 一般喷射或雾化;对表面涂覆液体或其他流体的一般方法〔2〕; |
| 申请人名称 | 湖州艺雅斋湖笔有限公司 |
| 申请人地址 | 浙江省湖州市南浔区善琏镇湖笔一条街30-34号 |
专利法律状态
2020-11-20
授权
状态信息
授权
摘要
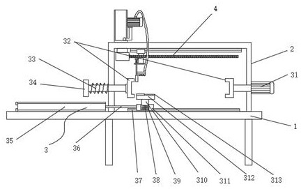
本实用新型公开了一种毛笔笔杆打磨喷涂设备,涉及毛笔加工技术领域,包括:支架、喷涂箱、打磨结构和喷涂结构,所述喷涂箱安装在支架的顶侧,所述打磨结构固定在支架的顶侧面,所述喷涂结构设置在喷涂箱的内腔内部,所述旋转电机通过螺栓配合安装在喷涂箱的侧壁一侧,所述旋转电机的输出轴贯穿喷涂箱的侧壁,所述限位杆通过轴承配合贯穿设置在喷涂箱的另一侧壁内部,通过设置打磨结构,能够对笔杆粗胚进行推进式旋转打磨,能够均匀连续性对笔杆打磨,能够保证笔杆圆周面光滑,便于拿捏使用,通过设置喷涂设备,能够对笔杆表面进行等间距喷涂,保证笔杆表面油漆喷涂相同均匀。


