授权公布号:CN208499728U
一种拉伸机的自动取料结构
有效
申请
2018-02-10
申请公布
1970-01-01
授权
2019-02-15
预估到期
2028-02-10
| 申请号 | CN201820239500.4 |
| 申请日 | 2018-02-10 |
| 授权公布号 | CN208499728U |
| 授权公告日 | 2019-02-15 |
| 分类号 | B65G47/91 |
| 分类 | 输送;包装;贮存;搬运薄的或细丝状材料; |
| 申请人名称 | 浙江卡罗特工贸有限公司 |
| 申请人地址 | 浙江省金华市永康市江南街道马竹岭村 |
专利法律状态
2019-02-15
授权
状态信息
授权
摘要
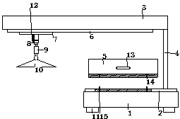
本实用新型公开了一种拉伸机的自动取料结构,包括取料座、支撑架、横向基板以及纵向基板,所述支撑架安置于取料座,所述纵向基板位于支撑架上,所述横向基板位于纵向基板的上端,所述支撑架上设有物料盒,其还包括:一对电动滑轨、移动基板、伸缩电机以及连接架;所述一对电动滑轨沿横向基板的长度方向进行固定,所述移动基板配装于电动滑轨上,所述伸缩电机位于移动基板上,所述连接架固定于伸缩电机的伸缩端上,所述连接架底部设有一对电磁真空吸盘,本实用新型涉及取料装置技术领域,本技术方案中通过多级机械结构相互配合,可对物料相应的进行移动和放置,减少了劳动资金的开支,增加公司的收益。


