授权公布号:CN215567515U
一种越野型老人助行车的新型刹车弹簧固定结构
有效
申请
2021-08-19
申请公布
1970-01-01
授权
2022-01-18
预估到期
2031-08-19
| 申请号 | CN202121948506.7 |
| 申请日 | 2021-08-19 |
| 授权公布号 | CN215567515U |
| 授权公告日 | 2022-01-18 |
| 分类号 | F16D65/02;F16F15/02;A61H3/04 |
| 分类 | 工程元件或部件;为产生和保持机器或设备的有效运行的一般措施;一般绝热; |
| 申请人名称 | 昆山联德乐体育用品有限公司 |
| 申请人地址 | 江苏省苏州市昆山市玉山镇寰庆路2980号中节能(昆山)循环经济产业园29号楼三楼 |
专利法律状态
2022-01-18
授权
状态信息
授权
摘要
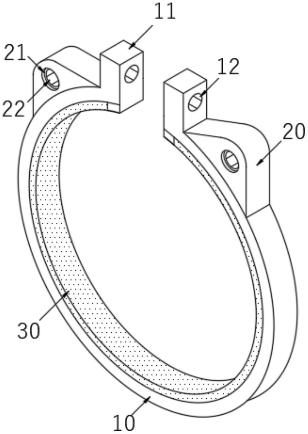
本实用新型公开了一种越野型老人助行车的新型刹车弹簧固定结构,包括呈圆环状的弹簧固定套和安装于弹簧固定套内壁上的减震垫圈,弹簧固定套的两端部均设置有连接头,连接头上开设有通孔,弹簧固定套的外壁靠近两个连接头的端部均安装有固定座,弹簧固定套的内壁上还设置有两个用于对减震垫圈进行限位的限位柱,两个限位柱分别与两个连接头位于同一竖直直线上。本实用新型中通过设置的弹簧固定套和减震垫圈的配合,可以将刹车弹簧进行套接,提高防滑效果,并通过固定螺栓将两个连接头连接,可以刹车弹簧锁紧,防止松脱,通过在弹簧固定套内壁上安装的两个限位柱可以将减震垫圈进行固定,提高结构的稳定性。


