授权公布号:CN215869646U
一种电动助力自行车的双组电池底盒
有效
申请
2021-08-23
申请公布
1970-01-01
授权
2022-02-18
预估到期
2031-08-23
| 申请号 | CN202121978946.7 |
| 申请日 | 2021-08-23 |
| 授权公布号 | CN215869646U |
| 授权公告日 | 2022-02-18 |
| 分类号 | H01M50/244;H01M50/249;H01M50/258;H01M10/613;H01M10/625;H01M10/6563 |
| 分类 | 基本电气元件; |
| 申请人名称 | 昆山联德乐体育用品有限公司 |
| 申请人地址 | 江苏省苏州市昆山市玉山镇寰庆路2980号中节能(昆山)循环经济产业园29号楼三楼 |
专利法律状态
2022-02-18
授权
状态信息
授权
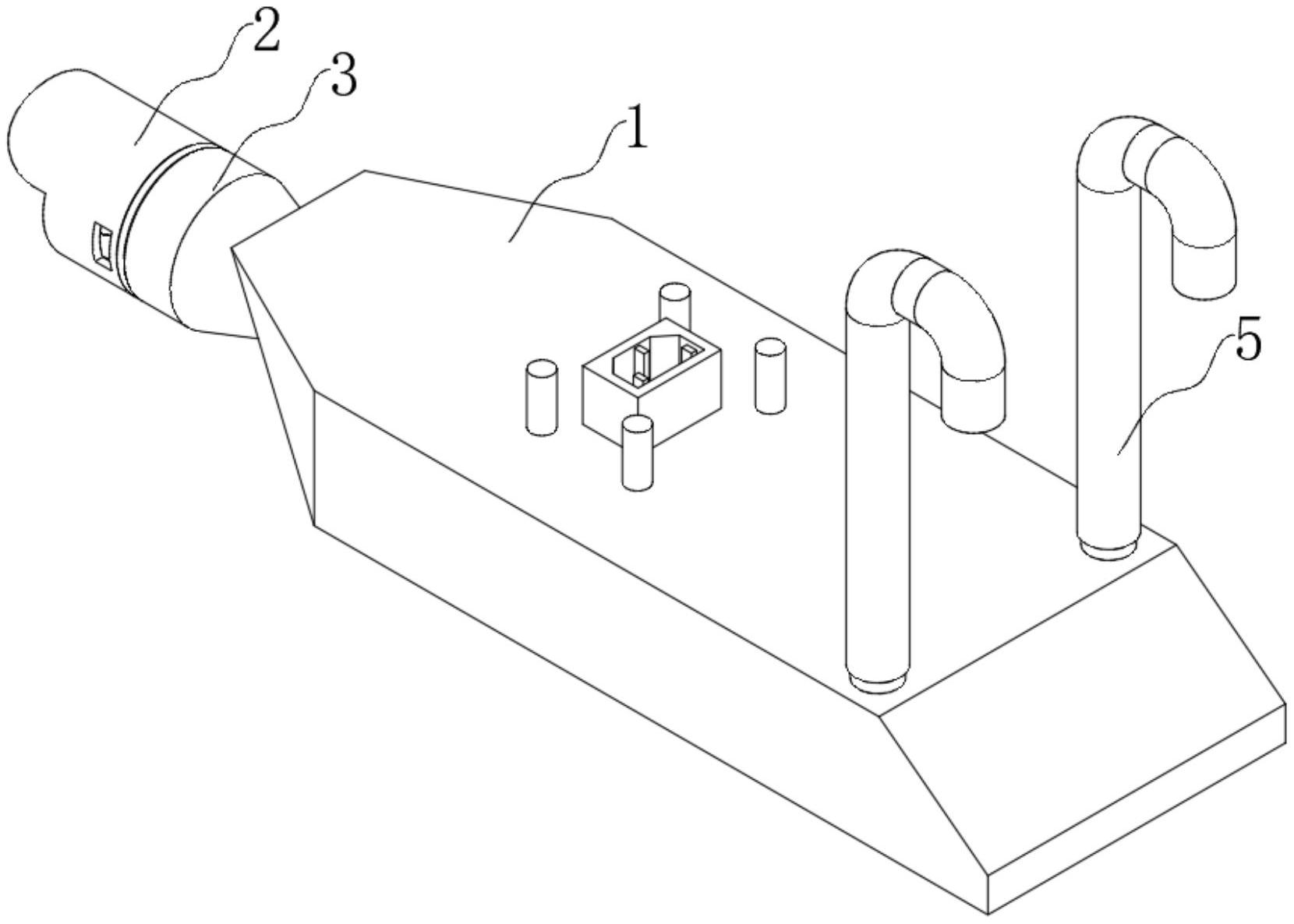
摘要
本实用新型涉及电动自行车技术领域,具体为一种电动助力自行车的双组电池底盒,包括安装于车架底部的双组份电池盒,电池盒朝向车头端连接有导风罩和用于对电池盒内部吹风排热气的吹风罩,电池盒的另一端顶面拐角处对称连接有排气管,导风罩和吹风罩的内部中心轴上均设置有同轴连接的风扇叶,单向阀座的顶面且沿其轴向呈环形开设有若干排气孔。本实用新型通过利用电池盒迎风端设置的导风罩内部的风扇叶迎风转动而带动吹风罩内的风扇叶旋转,进而吹动电池盒内的空气朝其后端流动,便从其后端设置的排气管排出,而带动热量,其无需外加任何动力,其充分利用风能排热,具有实用价值。


