授权公布号:CN215706891U
一种电动助力自行车的前叉结构
有效
申请
2021-08-19
申请公布
1970-01-01
授权
2022-02-01
预估到期
2031-08-19
| 申请号 | CN202121948507.1 |
| 申请日 | 2021-08-19 |
| 授权公布号 | CN215706891U |
| 授权公告日 | 2022-02-01 |
| 分类号 | B62K21/02 |
| 分类 | 无轨陆用车辆; |
| 申请人名称 | 昆山联德乐体育用品有限公司 |
| 申请人地址 | 江苏省苏州市昆山市玉山镇寰庆路2980号中节能(昆山)循环经济产业园29号楼三楼 |
专利法律状态
2022-02-01
授权
状态信息
授权
摘要
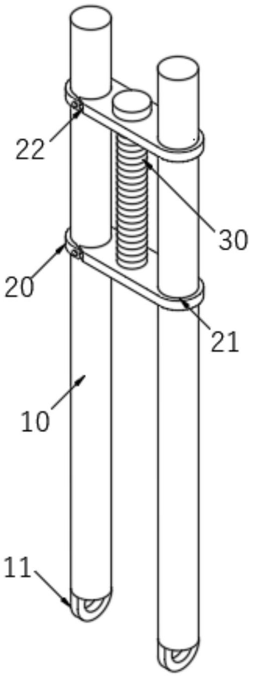
本实用新型公开了一种电动助力自行车的前叉结构,包括两条平行且呈圆柱状的前叉腿,两条前叉腿上安装有两个平行设置的肩盖,肩盖上开设有与前叉腿直径尺寸相适配的安装孔,每个安装孔的边缘设置有松紧调节机构,两个肩盖的中心处设置有间距调节机构。本实用新型中通过在肩盖上设置的松紧调节机构,可以调节前叉腿与安装孔内壁的松紧度,从而任意调整肩盖在前叉腿上的位置,调整前把手的高度,通过设置的间距调节机构可以调整两块肩盖之间的间距,操作简单,使用方便,前叉腿和肩盖均采用铝合金材质制成,铝合金强度高,耐蚀性能好,挤压性能好,可二次机加工、弯曲加工也较容易。


