授权公布号:CN217987296U
一种养生壶发热盘固定结构
有效
申请
2022-05-19
申请公布
1970-01-01
授权
2022-12-09
预估到期
2032-05-19
| 申请号 | CN202221232116.4 |
| 申请日 | 2022-05-19 |
| 授权公布号 | CN217987296U |
| 授权公告日 | 2022-12-09 |
| 分类号 | A47J27/21 |
| 分类 | 家具;家庭用的物品或设备;咖啡磨;香料磨;一般吸尘器; |
| 申请人名称 | 广东德琪电器实业有限公司 |
| 申请人地址 | 广东省中山市小榄镇工业大道中45号8栋三楼整层+7栋整栋 |
专利法律状态
2022-12-09
授权
状态信息
授权
摘要
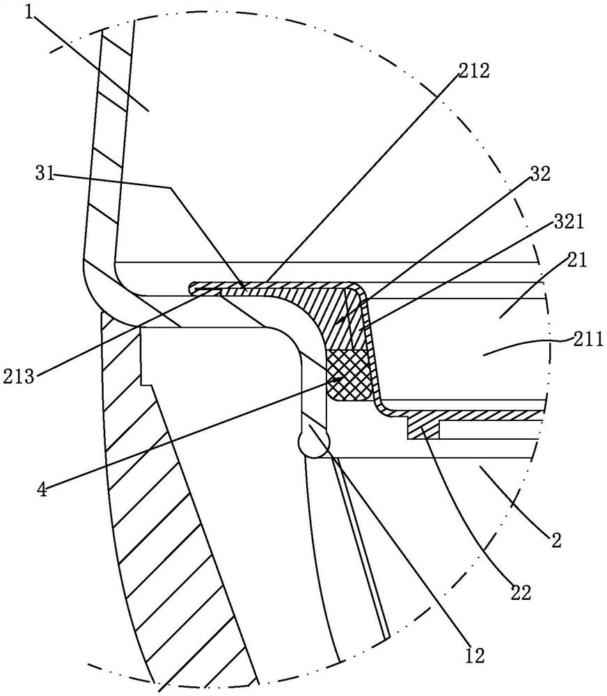
一种养生壶发热盘固定结构,包括玻璃壶体和电发热盘,玻璃壶体的底板上设有安装孔,电发热盘包括不锈钢制成的表面盘、电发热管和压铸铝,所述安装孔的下端设有翻边;所述表面盘包括上开口的腔体部、圆环形座板和与圆环形座板贴合的环形翻边,还包括密垫件,密垫件包括法兰部和筒形体部,密封件的筒形体部穿过安装孔、法兰部与玻璃壶体的底板贴合,腔体部穿过筒形体部、圆环形座板压紧法兰部,法兰部与环形翻边的径向内侧对接,环形翻边与玻璃壶体的底板之间有间隙;翻边和腔体之间填充有快干胶。圆环形座板压紧密封件的法兰部,提高了密封性能;腔体部与玻璃壶的翻边用快干胶粘接,连接牢固,只需要固化炉中,固化半小时即可,装配工效高。


