授权公布号:CN209125601U
一种便于清洁磁力抛光颗粒的装置
有效
申请
2018-11-16
申请公布
1970-01-01
授权
2019-07-19
预估到期
2028-11-16
| 申请号 | CN201821899832.1 |
| 申请日 | 2018-11-16 |
| 授权公布号 | CN209125601U |
| 授权公告日 | 2019-07-19 |
| 分类号 | B24B41/06;B24B55/06 |
| 分类 | 磨削;抛光; |
| 申请人名称 | 深圳市发科达表面处理技术有限公司 |
| 申请人地址 | 广东省深圳市宝安区松岗街道沙浦一村第一工业区蒙拓励路1号F栋1楼102 |
专利法律状态
2019-07-19
授权
状态信息
授权
摘要
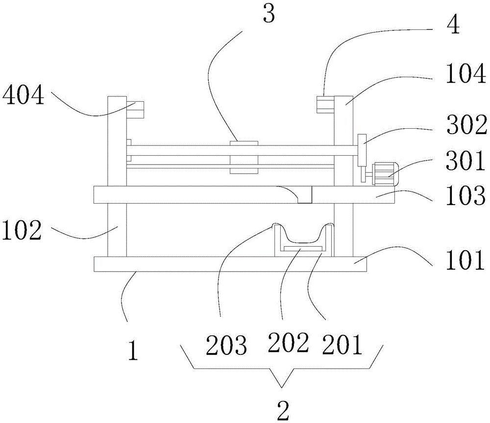
本实用新型提供一种便于清洁磁力抛光颗粒的装置,涉及抛光技术领域。实现了能够将金属抛光产生的颗粒进行清洁收集的效果。该便于清洁磁力抛光颗粒的装置,包括固定装置、收集装置、磁力抛光清扫装置和夹持装置,所述收集装置、磁力抛光清扫装置和夹持装置均位于固定装置的内部,所述磁力抛光清扫装置位于收集装置和夹持装置二者之间。该便于清洁磁力抛光颗粒的装置,驱动电机通过齿轮啮合使螺纹杆转动,使螺纹杆表面螺纹连接的第一滑块在辅助杆表面滑动,通过缓冲弹簧带动第二滑块在辅助杆上滑动,当第一滑块推动第二滑块向左运动时推杆推动连接杆在安装块上转动,使清洁块与置物板脱离接触,避免了将细小颗粒来回扫动清洁不彻底。


