授权公布号:CN217851578U
一种可加速汗液干燥的透气型儿童凉鞋
有效
申请
2022-09-07
申请公布
1970-01-01
授权
2022-11-22
预估到期
2032-09-07
| 申请号 | CN202222373986.X |
| 申请日 | 2022-09-07 |
| 授权公布号 | CN217851578U |
| 授权公告日 | 2022-11-22 |
| 分类号 | A43B3/12;A43B7/083;A43B13/14;A43B17/08 |
| 分类 | 鞋类; |
| 申请人名称 | 晋江哈比熊鞋服有限责任公司 |
| 申请人地址 | 福建省泉州市晋江市磁灶镇张林村东环路287-7号 |
专利法律状态
2022-11-22
授权
状态信息
授权
摘要
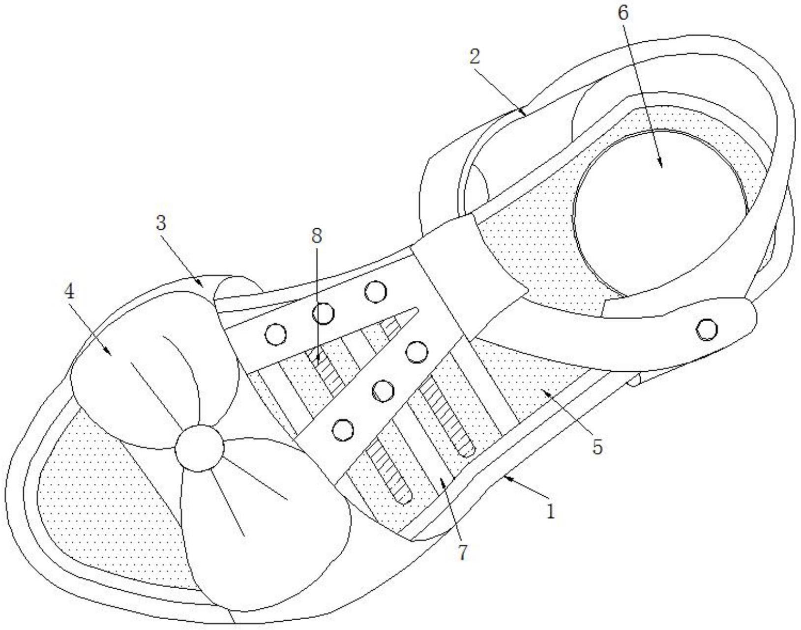
本实用新型公开了一种可加速汗液干燥的透气型儿童凉鞋,包括鞋底本体,以及安装在所述鞋底本体一端上方的固定件;所述鞋底本体远离固定件的一端上方固定有鞋面本体;还包括:所述鞋面本体的上表面安装有蝴蝶结;所述鞋底本体的上表面安装有鞋垫本体,且鞋垫本体靠近固定件的一端上表面内部安装有储气气囊a;所述鞋垫本体远离固定件的一端上表面内部安装有储气气囊b。该可加速汗液干燥的透气型儿童凉鞋设置有储气气囊a,使得储气气囊b将脚底部分区域向上顶起,继而便于外界的气体在脚底部分区域与鞋垫本体之间的空隙内流动,继而便于外界的风对脚底部分区域进行吹动,由此便于加速对脚底部分区域的汗液进行干燥。


