授权公布号:CN213961846U
一种艾草护膝裤
有效
申请
2020-11-10
申请公布
1970-01-01
授权
2021-08-17
预估到期
2030-11-10
| 申请号 | CN202022574803.1 |
| 申请日 | 2020-11-10 |
| 授权公布号 | CN213961846U |
| 授权公告日 | 2021-08-17 |
| 分类号 | A41D1/06;A41D27/02;A41D27/20;A41D27/24;A41D31/02;A41D31/06;A41D31/04;A61H39/06;A61F7/00 |
| 分类 | 服装; |
| 申请人名称 | 榆林市七只羊服饰有限责任公司 |
| 申请人地址 | 陕西省榆林市高新技术产业园区轻工业园轻工路 |
专利法律状态
2021-08-17
授权
状态信息
授权
摘要
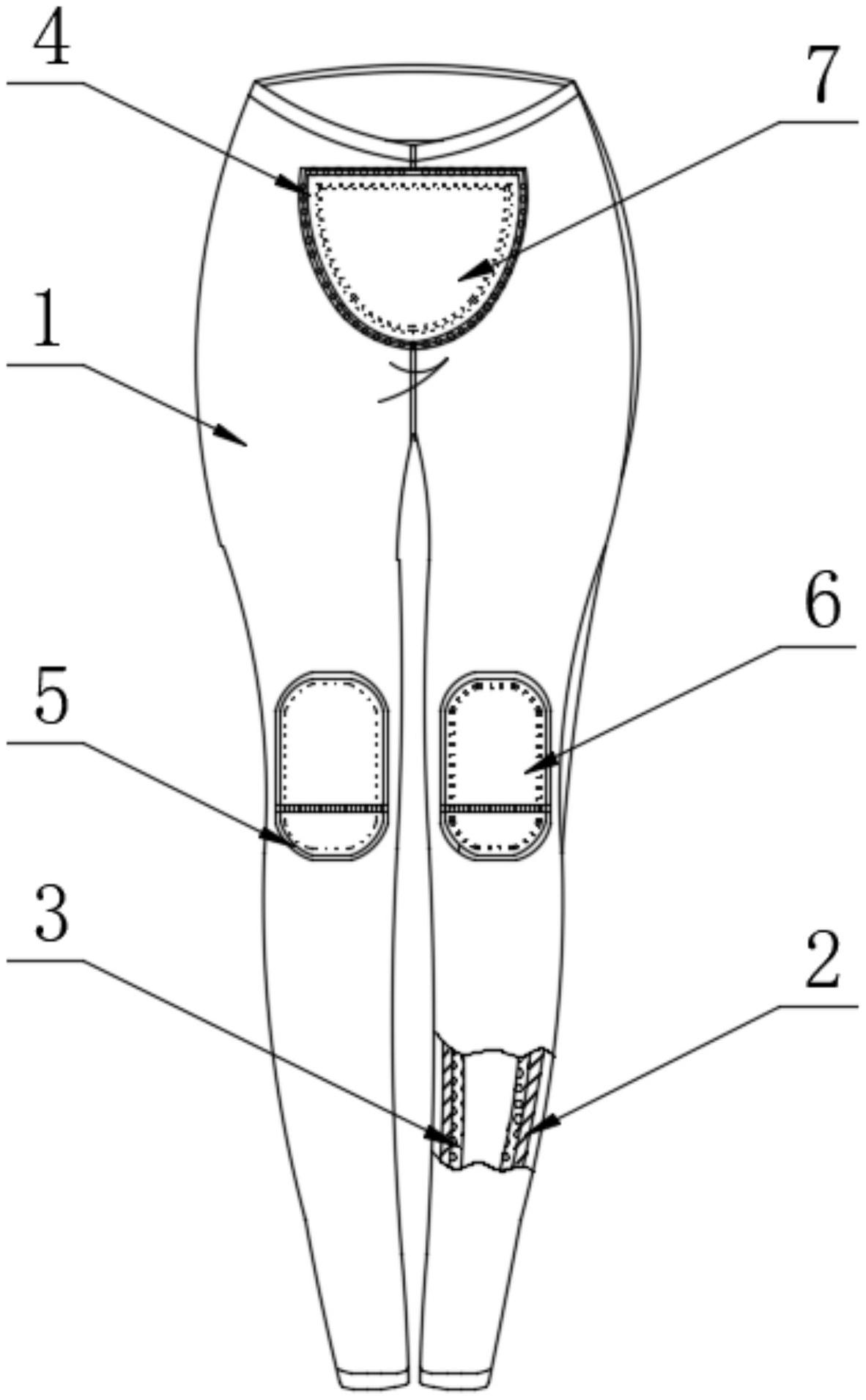
本实用新型涉及防寒服技术领域,具体为一种艾草护膝裤,包括裤子主体,所述裤子主体的外表面一侧固定安装有暖宫兜,所述裤子主体的外表面靠近暖宫兜的一侧固定安装有一组护膝兜,所述裤子主体的外表面另一侧固定安装有护腰兜,所述护膝兜的内部一侧设置有第一艾绒贴片,所述暖宫兜的内部一侧设置有第二艾绒贴片,所述护腰兜的内侧设置有第三艾绒贴片,所述裤子主体的内壁一侧固定连接有裤底面,所述裤子主体与裤底面之间设置有羊毛絮片。本实用新型所述的一种艾草护膝裤,能够使得整体装置实现吸湿排汗、弹力性好、修身塑形、轻易舒适,能够循环锁温能改善关节病痛、暖宫护胃作用,提高整体装置的实用性,带来更好的使用前景。


