授权公布号:CN107881689B
一种服装领子、袋盖的辅助自动加热控温定型设备及加工方法
有效
申请
2017-09-28
申请公布
2018-04-06
授权
2021-03-02
预估到期
2037-09-28
| 申请号 | CN201710897306.5 |
| 申请日 | 2017-09-28 |
| 申请公布号 | CN107881689A |
| 申请公布日 | 2018-04-06 |
| 授权公布号 | CN107881689B |
| 授权公告日 | 2021-03-02 |
| 分类号 | D06C7/02 |
| 分类 | 织物等的处理;洗涤;其他类不包括的柔性材料; |
| 申请人名称 | 山西兵娟制衣有限公司 |
| 申请人地址 | 山西省运城市临猗县高新工业园区385号 |
专利法律状态
2021-03-02
授权
状态信息
授权
2018-05-01
实质审查的生效
状态信息
实质审查的生效
2018-04-06
公布
状态信息
公布
摘要
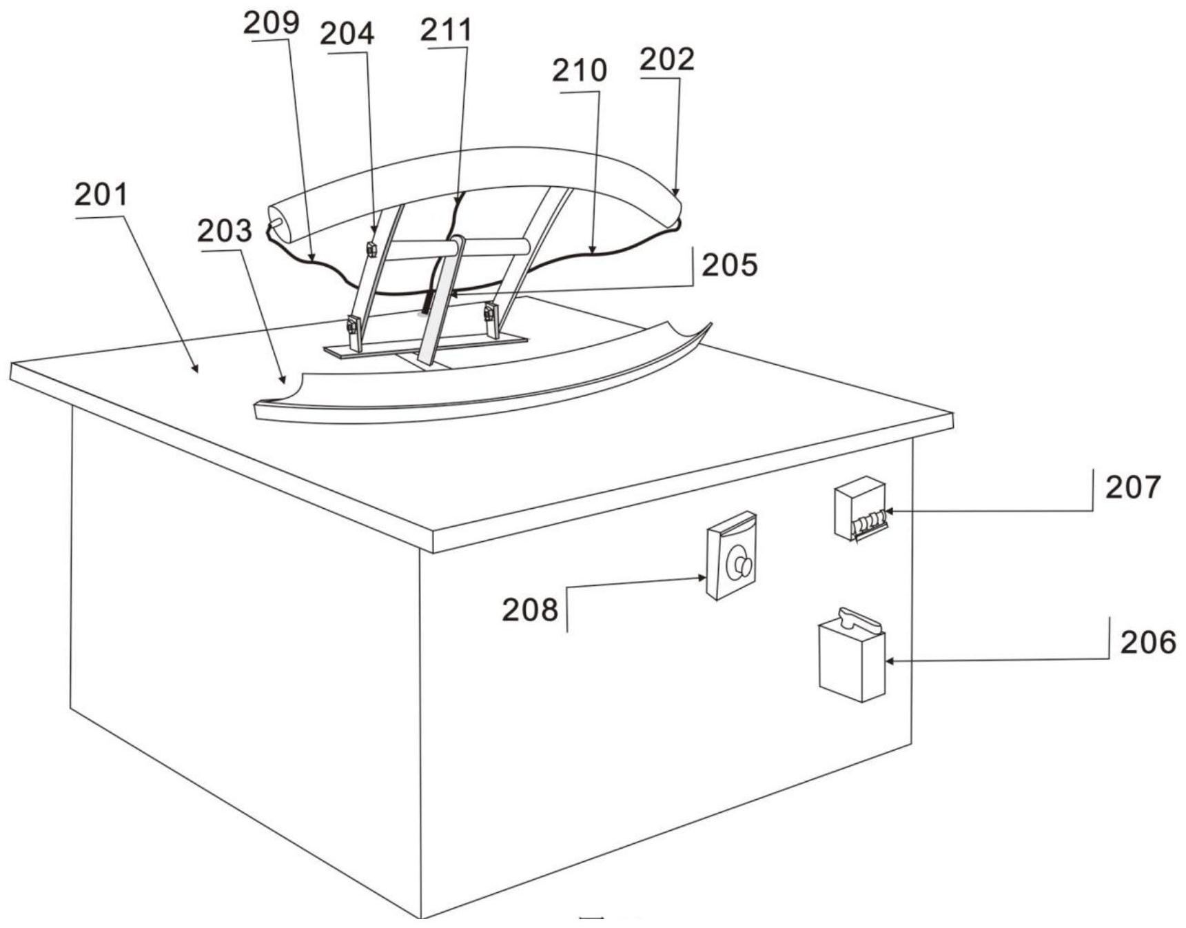
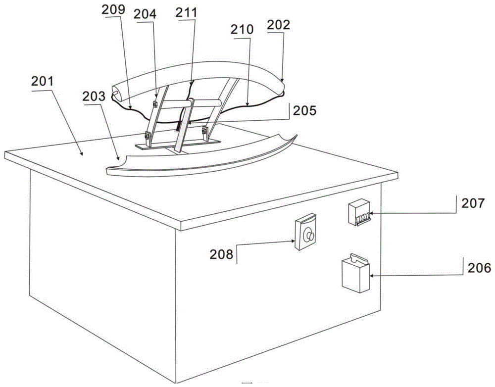
本发明公开了一种服装领子、袋盖的辅助自动加热控温定型设备及其加工方法,包括:定型部分,连杆压力部分,动力温控部分。本发明采用自动控温加热定型设备和缝制工艺,解决了领子、袋盖的面里松紧工艺操作的人员技能操作要求高的依赖性,使有效的解决了人员技能熟练因素的影响。


