授权公布号:CN210698304U
一种金属管乐的表面消毒装置
有效
申请
2019-07-31
申请公布
1970-01-01
授权
2020-06-09
预估到期
2029-07-31
| 申请号 | CN201921230230.1 |
| 申请日 | 2019-07-31 |
| 授权公布号 | CN210698304U |
| 授权公告日 | 2020-06-09 |
| 分类号 | A61L2/18 |
| 分类 | 医学或兽医学;卫生学; |
| 申请人名称 | 天津市耐普特斯乐器有限公司 |
| 申请人地址 | 天津市静海县蔡公庄镇四党口西村一区2排27号 |
专利法律状态
2020-06-09
授权
状态信息
授权
摘要
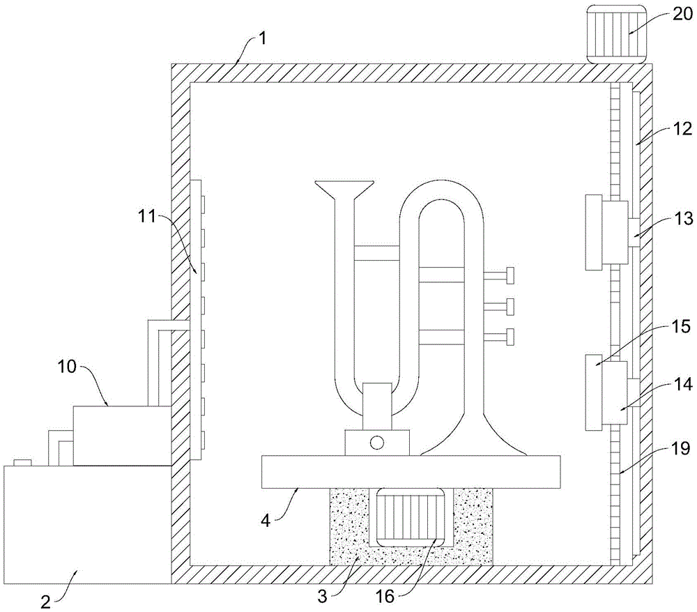
本实用新型公开了一种金属管乐的表面消毒装置,包括消毒箱和设置在消毒箱一侧的储液箱,消毒箱内腔的底端固定设置有辅助台,辅助台的顶端固定设置有放置板,放置板顶端的一侧开设有放置槽,放置板顶端的另一侧固定设置有固定块。本实用新型一种金属管乐的表面消毒装置,把金属管乐的管头部分置于放置槽内,再把管部置于两个限位板之间,拧动旋拧套带动螺纹杆转动,螺纹杆移动并推动限位板进行移动,进而通过两个限位板,实现对金属管乐进行夹紧,在通过弹性带对金属管进行进一步绑定,通过鼓风机对金属管乐表面的灰尘进行吹除,然后再通过水泵向喷洒管内鼓入酒精,喷向金属管乐的表面,实现对金属管乐进行消毒,不需要人工进行操作,省时省力。


