授权公布号:CN220392909U
一种便于调节更换的绕线轮
有效
申请
2023-07-07
申请公布
1970-01-01
授权
2024-01-26
预估到期
2033-07-07
| 申请号 | CN202321768591.8 |
| 申请日 | 2023-07-07 |
| 授权公布号 | CN220392909U |
| 授权公告日 | 2024-01-26 |
| 分类号 | B65H54/54;B65H67/04;B65H54/70 |
| 分类 | 输送;包装;贮存;搬运薄的或细丝状材料; |
| 申请人名称 | 盐城市丝利得茧丝绸有限公司 |
| 申请人地址 | 江苏省盐城市射阳县兴桥镇安南村机场路西侧 |
专利法律状态
2024-01-26
授权
状态信息
授权
摘要
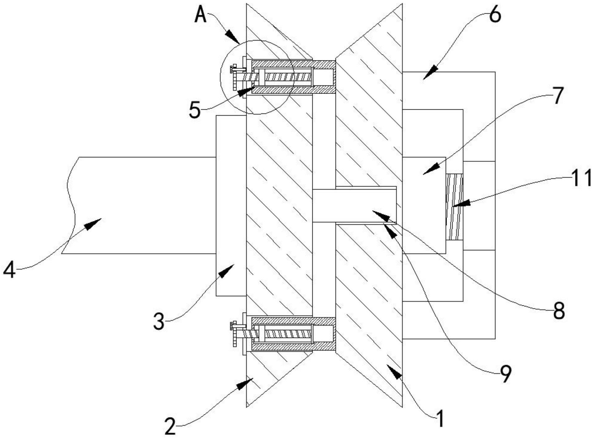
本实用新型公开了一种便于调节更换的绕线轮,包括绕线轴,所述绕线轴的一端套接有限位块,所述限位块的一侧安装有固定轮,且固定轮的一侧安装有固定块,所述固定轮的外侧套接有第二半轮,且第二半轮的两端均设置有调节机构,所述调节机构的一侧连接有第一半轮,所述第一半轮的内部设置有连接槽,且连接槽的内部安装有连接块。本实用新型通过旋拧调节杆带动螺纹块做水平运动,在螺纹块的配合下带动调节块做同步的水平运动,使得调节块再活动槽的内部做水平运动,调节块运动的同时推动第一半轮同步水平运动,继而带动连接块在连接槽的内部滑动,从而根据实际的使用情况来增加第一半轮与第二半轮之间绕线的范围。


