授权公布号:CN217243863U
一种滑轨结构及电磁炉烤箱集成灶
有效
申请
2021-12-03
申请公布
1970-01-01
授权
2022-08-23
预估到期
2031-12-03
| 申请号 | CN202123043729.1 |
| 申请日 | 2021-12-03 |
| 授权公布号 | CN217243863U |
| 授权公告日 | 2022-08-23 |
| 分类号 | A47J37/06;F24C15/02 |
| 分类 | 家具;家庭用的物品或设备;咖啡磨;香料磨;一般吸尘器; |
| 申请人名称 | 佛山市爱庭电器有限公司 |
| 申请人地址 | 广东省佛山市南海区狮山镇松夏工业园基业路2号 |
专利法律状态
2022-08-23
授权
状态信息
授权
摘要
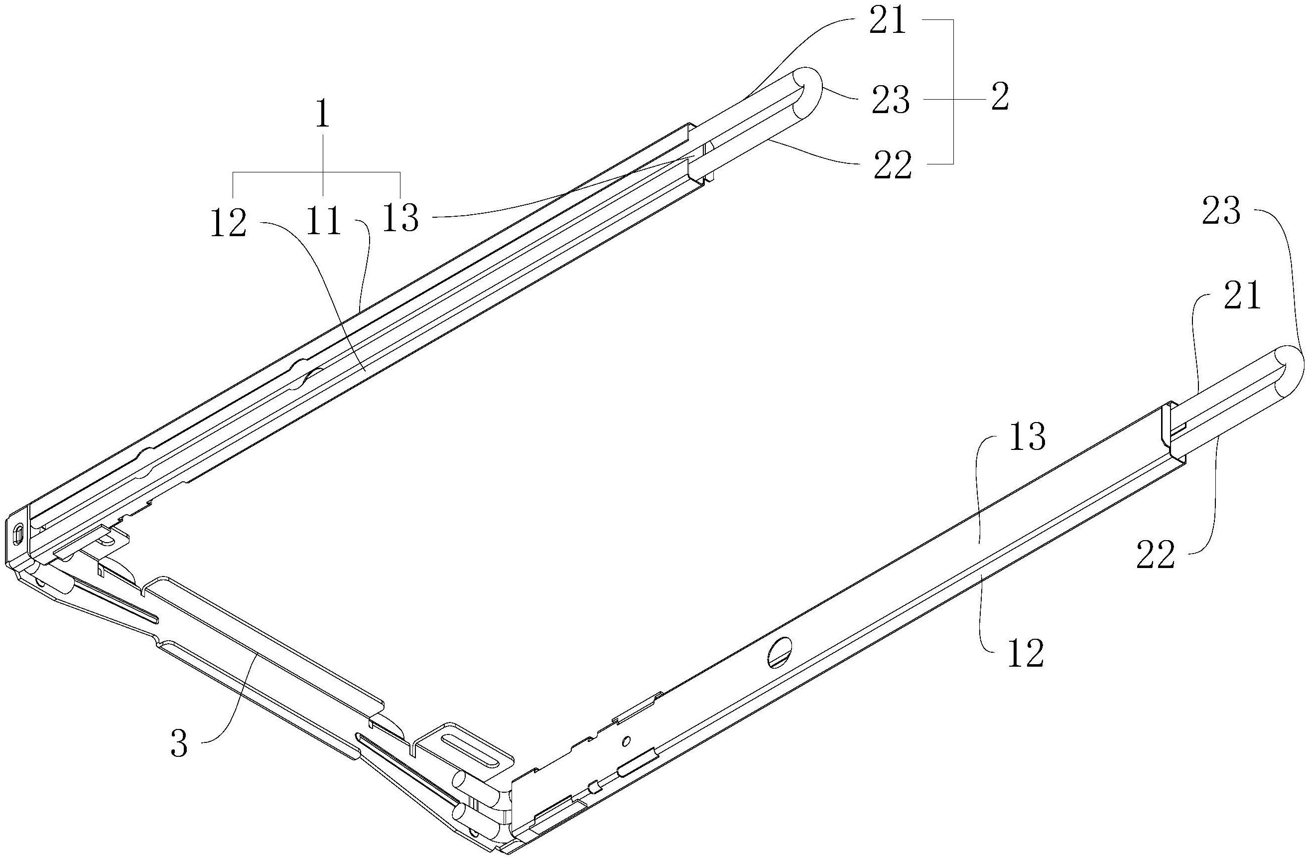
本实用新型公开一种滑轨结构及电磁炉烤箱集成灶,其中,一种滑轨结构,包括滑轨主体和由弹性材质制成的滑块,所述滑轨主体上开设有滑槽,所述滑块设置于所述滑槽内,所述滑块与所述滑槽可相对滑动,所述滑块的是开设有开孔,所述开孔的深度方向与所述滑槽的长度方向异面垂直。该烤箱包括了该滑轨结构。本实用新型提供了能够有效避免烤箱使用过程中因温度原因而卡死的滑轨结构及应用了该结构的烤箱。


