授权公布号:CN213860440U
一种模具结构以及应用该结构的倒装模具
有效
申请
2020-10-30
申请公布
1970-01-01
授权
2021-08-03
预估到期
2030-10-30
| 申请号 | CN202022485275.2 |
| 申请日 | 2020-10-30 |
| 授权公布号 | CN213860440U |
| 授权公告日 | 2021-08-03 |
| 分类号 | B29C45/26;B29C45/40 |
| 分类 | 塑料的加工;一般处于塑性状态物质的加工; |
| 申请人名称 | 佛山市爱庭电器有限公司 |
| 申请人地址 | 广东省佛山市南海区狮山镇松夏工业园基业路2号 |
专利法律状态
2021-08-03
授权
状态信息
授权
摘要
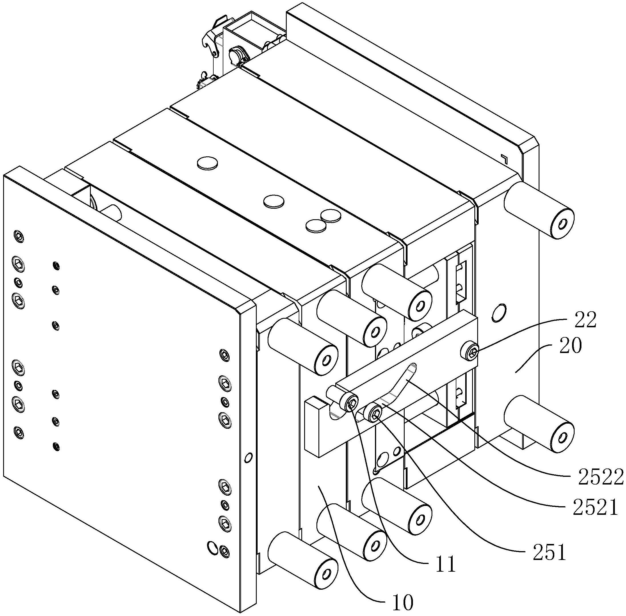
本实用新型公开了一种模具结构以及应用该结构的倒装模具,其中模具结构包括沿左右方向依次设置的动模组和定模组,动模组沿左右方向往复运动,动模组和定模组之间设有合模空间,定模组上滑动连接有顶出组件,顶出组件沿左右方向往复滑动,顶出组件通过转轴连接有卡扣,动模组上设有适配卡扣的卡接块,卡扣上设有调节机构,定模组联动连接调节机构从而调节卡扣绕转轴摆动的位置,卡接块的运动轨迹与卡扣的运动轨迹相交,顶出组件的运动轨迹与合模空间相交。本实用新型还提供了一种采用上述模具结构的倒装模具。本实用新型提供一种由机械传动而带动顶针顶出的模具结构及倒装模具,避免直接采用驱动装置带动顶针顶出。


