授权公布号:CN213746913U
一种电磁炉外壳及应用该外壳的电磁炉
有效
申请
2020-10-30
申请公布
1970-01-01
授权
2021-07-20
预估到期
2030-10-30
| 申请号 | CN202022478567.3 |
| 申请日 | 2020-10-30 |
| 授权公布号 | CN213746913U |
| 授权公告日 | 2021-07-20 |
| 分类号 | F24C15/12;F24C7/08 |
| 分类 | 供热;炉灶;通风; |
| 申请人名称 | 佛山市爱庭电器有限公司 |
| 申请人地址 | 广东省佛山市南海区狮山镇松夏工业园基业路2号 |
专利法律状态
2021-07-20
授权
状态信息
授权
摘要
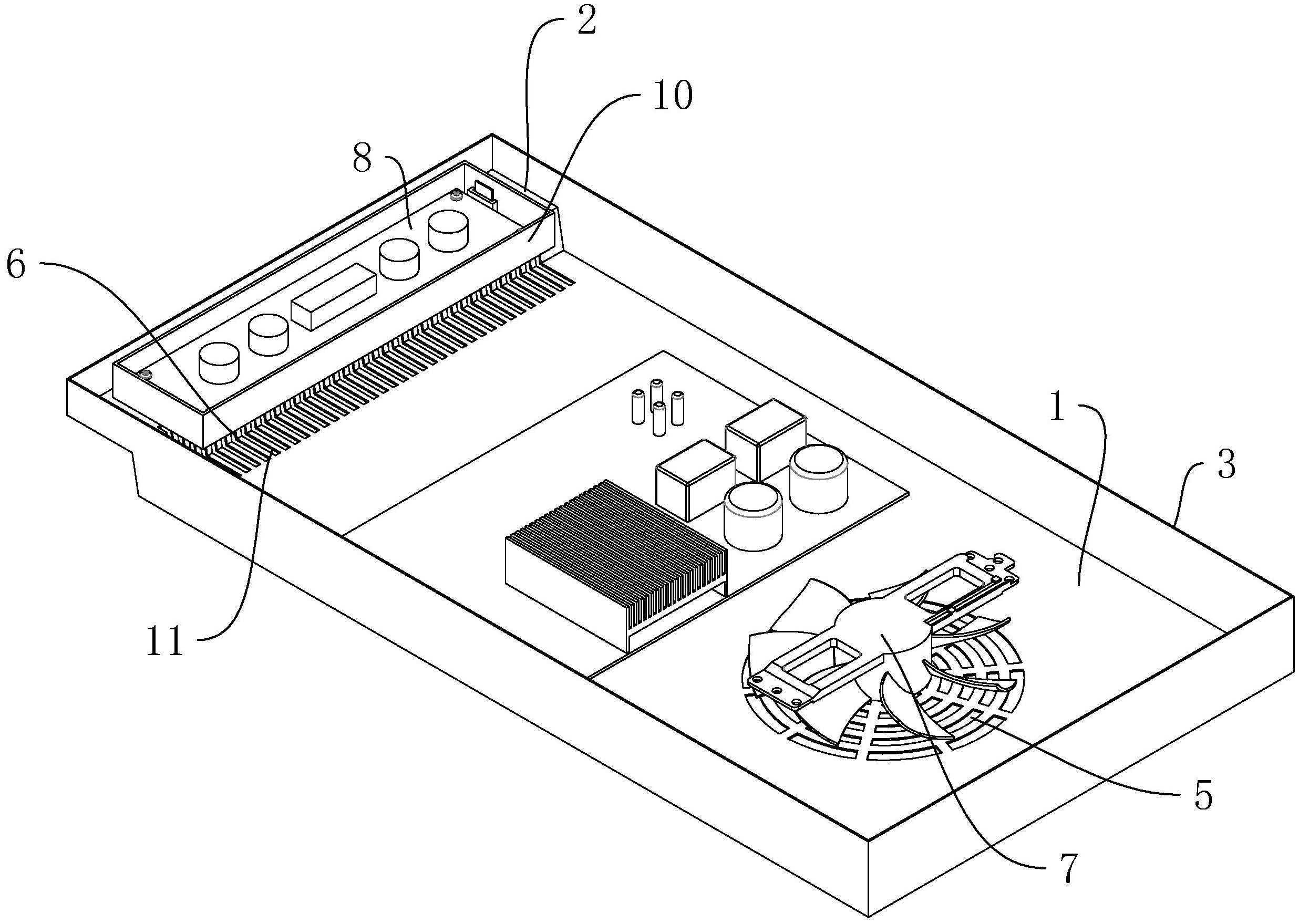
本实用新型公开一种电磁炉外壳及应用该外壳的电磁炉,其中,该电磁炉外壳包括外壳主体,外壳主体包括顶面敞开的盒体、安装板、侧围框、电磁炉面板,侧围框的内壁之间形成一条竖向通道,侧围框设置于盒体的上方,侧围框的下侧边通过安装板固定连接盒体上侧边,侧围框的内径大于盒体的内径,使得安装板和盒体形成一个阶梯,电磁炉面板覆盖从上侧覆盖竖向通道,安装板上用于安装控制面板,盒体上开设有贯穿盒体内壁的第一出气孔,第一出气孔设置于安装板的下方,盒体上开设有进气孔,此外,本实用新型提供了一种采用该外壳的电磁炉。本实用新型能够避免电磁炉散热时把潮湿的空气直接吹向控制面板。


