授权公布号:CN216907647U
一种炒菜锅盖及炒菜锅及电磁炉
有效
申请
2021-12-03
申请公布
1970-01-01
授权
2022-07-08
预估到期
2031-12-03
| 申请号 | CN202123042952.4 |
| 申请日 | 2021-12-03 |
| 授权公布号 | CN216907647U |
| 授权公告日 | 2022-07-08 |
| 分类号 | A47J36/06;A47J36/16 |
| 分类 | 家具;家庭用的物品或设备;咖啡磨;香料磨;一般吸尘器; |
| 申请人名称 | 佛山市爱庭电器有限公司 |
| 申请人地址 | 广东省佛山市南海区狮山镇松夏工业园基业路2号 |
专利法律状态
2022-07-08
授权
状态信息
授权
摘要
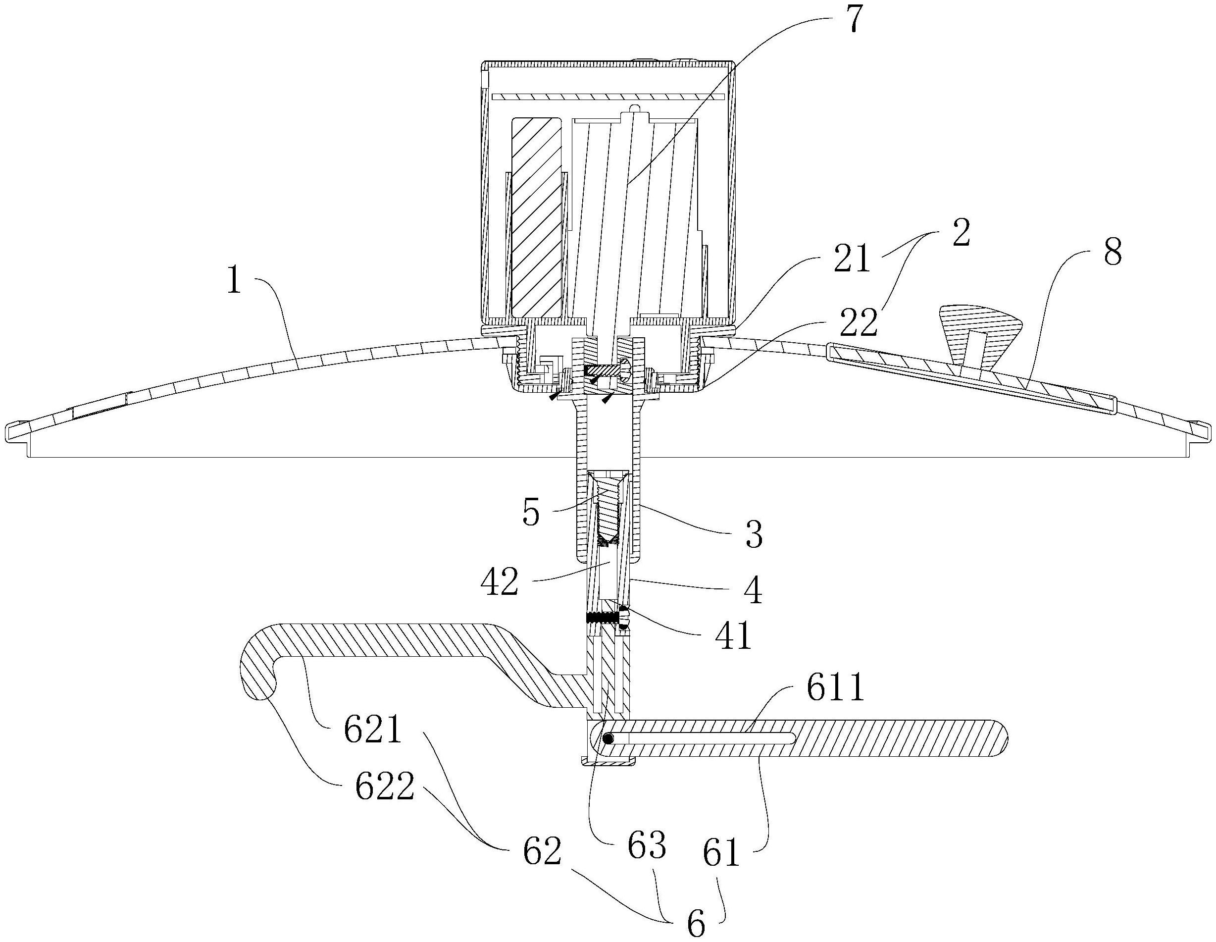
本实用新型公开一种炒菜锅盖及炒菜锅及电磁炉,该炒菜锅包括锅盖主体,还包括:连接组件、导轨、滑块、锁紧结构、翻炒组件;所述连接组件固定在所述锅盖主体上;所述导轨设置在所述连接组件上,所述导轨沿竖向延伸,所述导轨与所述连接组件两者可相对转动,所述导轨与所述连接组件相对转动的轴线沿竖向设置;所述滑块滑动配合所述导轨;所述锁紧结构设置在所述滑块上,所述锁紧结构用于锁定所述滑块和所述导轨,使得所述滑块和所述导轨不能相对滑动;所述翻炒组件固定连接所述滑块,所述翻炒组件用于对菜肴进行翻炒。该炒菜锅包括该炒菜锅盖,该电磁炉包括了该炒菜锅。本实用新型提供一种可避免油烟的炒菜锅盖及炒菜锅及电磁炉。


