授权公布号:CN107881637B
穿综机推纱器及穿综机
有效
申请
2017-12-21
申请公布
2018-04-06
授权
2024-01-30
预估到期
2037-12-21
| 申请号 | CN201711397100.2 |
| 申请日 | 2017-12-21 |
| 申请公布号 | CN107881637A |
| 申请公布日 | 2018-04-06 |
| 授权公布号 | CN107881637B |
| 授权公告日 | 2024-01-30 |
| 分类号 | D03J1/14 |
| 分类 | 织造; |
| 申请人名称 | 广东溢达纺织有限公司 |
| 申请人地址 | 广东省佛山市沧江出口加工区 |
专利法律状态
2024-01-30
授权
状态信息
授权
2018-05-01
实质审查的生效
状态信息
实质审查的生效;IPC(主分类):D03J1/14;申请日:20171221
2018-04-06
公布
状态信息
公布
摘要
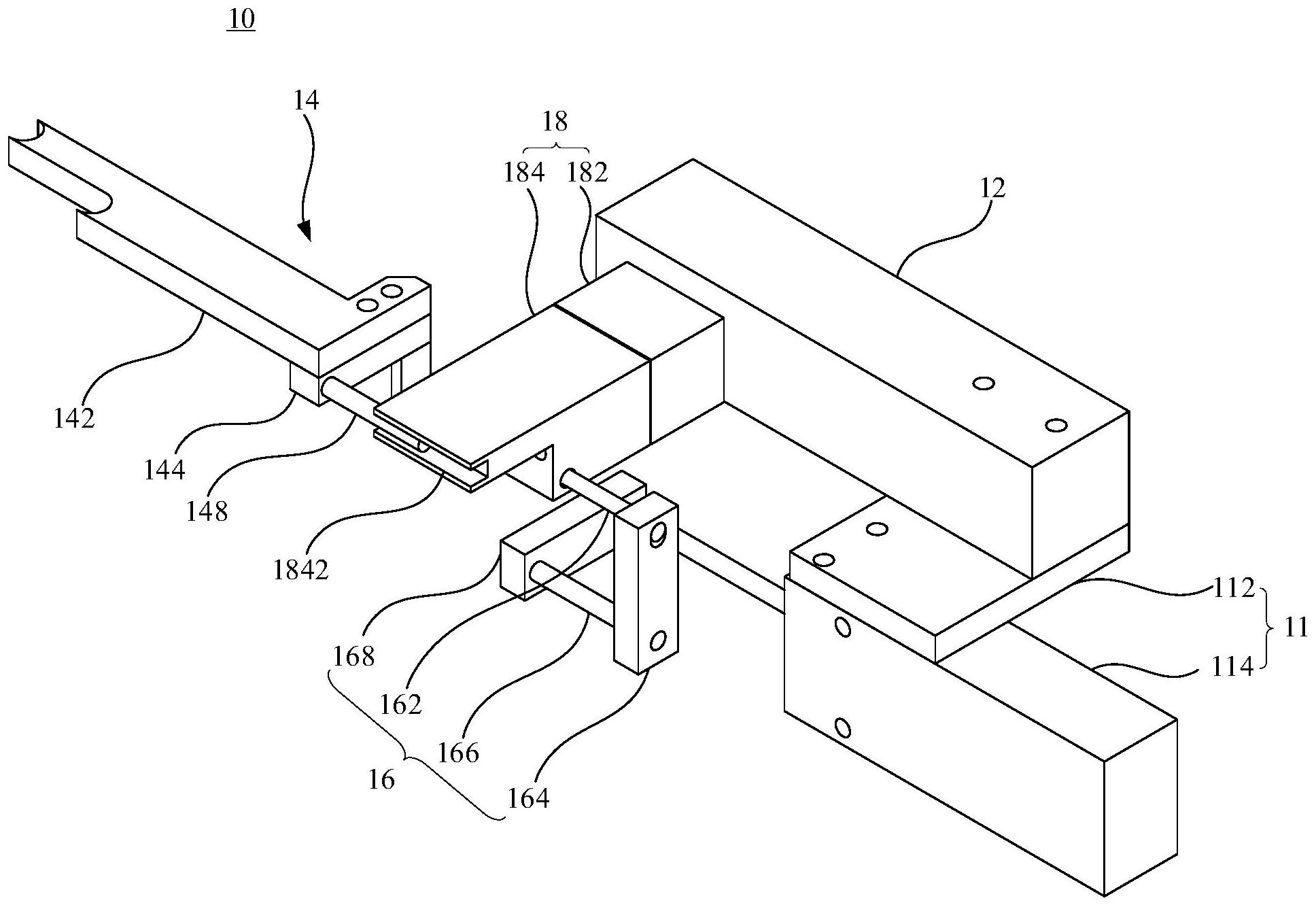
本发明涉及一种穿综机推纱器,包括:底座、驱动组件、连接组件、定位组件及推纱组件。驱动组件设置于底座的一端;连接组件一端连接于驱动组件的输出端;定位组件设置于底座相对驱动组件的另一端,连接组件远离驱动组件的另一端穿设于定位组件;推纱组件位于定位组件相对驱动组件的另一侧,推纱组件包括推纱件及导向件,推纱件连接于连接组件远离驱动组件的一端,导向件设置于推纱件的一端,且可滑动地穿设于定位组件,以对推纱件沿预设方向移动导向。由于上述推纱器由各个零件组装而成,便于调整,而且推纱组件只跟随驱动组件作往复运动,提高了推纱器的稳定性,降低了推纱器维修的次数及维修时间,进而降低了成本,提高了生产效率。


