授权公布号:CN218121319U
一种洗发水灌装密封检测装置
有效
申请
2022-08-15
申请公布
1970-01-01
授权
2022-12-23
预估到期
2032-08-15
| 申请号 | CN202222134065.8 |
| 申请日 | 2022-08-15 |
| 授权公布号 | CN218121319U |
| 授权公告日 | 2022-12-23 |
| 分类号 | G01M3/36;B07C5/02;B07C5/34;B07C5/36 |
| 分类 | 测量;测试; |
| 申请人名称 | 广州高缇雅精细化工有限公司 |
| 申请人地址 | 广东省广州市花都区新雅街团结村大塘口经济合作社团结第一工业园 |
专利法律状态
2022-12-23
授权
状态信息
授权
摘要
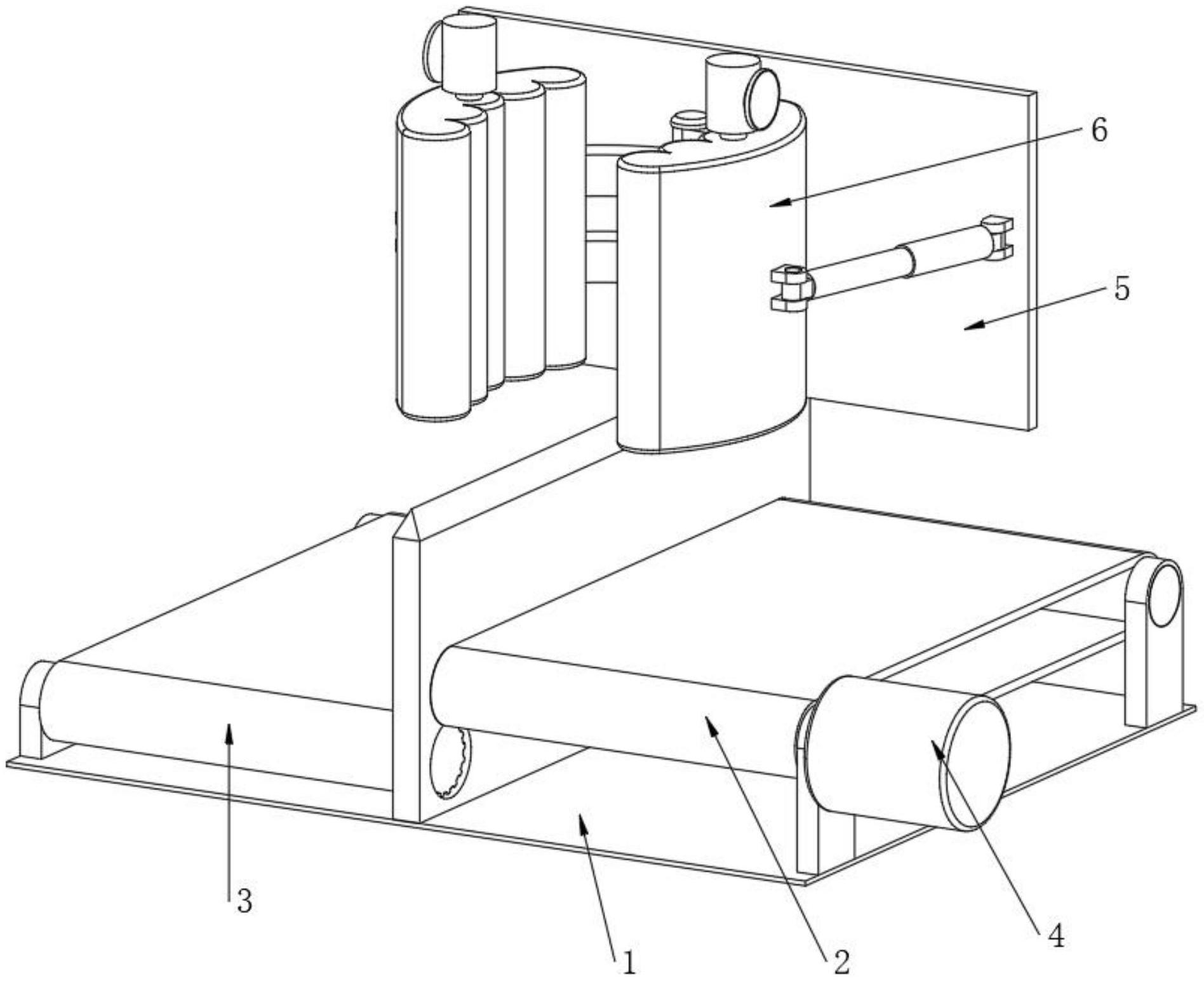
本实用新型涉及洗发水加工技术领域,公开了一种洗发水灌装密封检测装置,包括底座,所述底座包括底板,所述底板的中部上端固定连接有立板,且所述立板的两侧分别设有左低右高的两个支撑架,所述立板的两侧分别架设安装有第一传送机构和第二传动机构。通过在底座的上方后端安装有支撑板,且支撑板的前侧连接有检测机构,第一夹板和第二夹板通过连接架和电动气缸安装在立板的正上方,并通过压力检测器和仪表盘的连接对第一夹板和第二夹板在对产品挤压时受到的压力进行检测,并通过仪表盘进行显示,便于对产品受到挤压时的密封性进行检测,并分别通过电动气缸带动第一夹板或第二夹板进行开合将产品送出,便于装置的自动使用,且避免产品掉落。


