授权公布号:CN204380196U
硅胶仿人搏击训练器
有效
申请
2015-01-22
申请公布
1970-01-01
授权
2015-06-10
预估到期
2025-01-22
| 申请号 | CN201520043986.0 |
| 申请日 | 2015-01-22 |
| 授权公布号 | CN204380196U |
| 授权公告日 | 2015-06-10 |
| 分类号 | A63B69/34 |
| 分类 | 运动;游戏;娱乐活动; |
| 申请人名称 | 河北众乐星体育用品有限公司 |
| 申请人地址 | 河北省保定市定州市唐河循环经济产业园区 |
专利法律状态
2015-06-10
授权
状态信息
授权
摘要
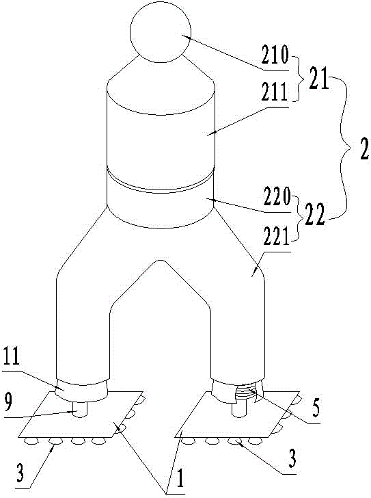
本实用新型公开了一种硅胶仿人搏击训练器,涉及运动训练器材技术领域,包括下设橡胶吸盘的底座和仿人靶体,仿人靶体内设刚性骨架、且下端通过弹性元件与底座相连,仿人靶体内充柔性填充物、外部包裹硅胶皮,在增强其耐磨性的同时提高安全系数,不易发生伤害事故,刚性骨架可起到支撑作用、使其保持直立状态,弹性元件连接底座和仿人靶体可使仿人靶体在击打过程中快速回弹,使用时将橡胶吸盘吸附在光滑地面,使训练器主体更稳定且不破坏地面。本实用新型具有结构简单、使用安全可靠的优点,环保耐用,搬运轻便,不受场地和时间限制,适合不同场所使用。


