授权公布号:CN218079978U
一种景泰蓝锅生产用冲压模具
有效
申请
2022-08-12
申请公布
1970-01-01
授权
2022-12-20
预估到期
2032-08-12
| 申请号 | CN202222130297.6 |
| 申请日 | 2022-08-12 |
| 授权公布号 | CN218079978U |
| 授权公告日 | 2022-12-20 |
| 分类号 | B21D37/10;B21D22/06;B21D51/22 |
| 分类 | 基本上无切削的金属机械加工;金属冲压; |
| 申请人名称 | 涞水县星豪铜艺有限公司 |
| 申请人地址 | 河北省保定市涞水县南桥头 |
专利法律状态
2022-12-20
授权
状态信息
授权
摘要
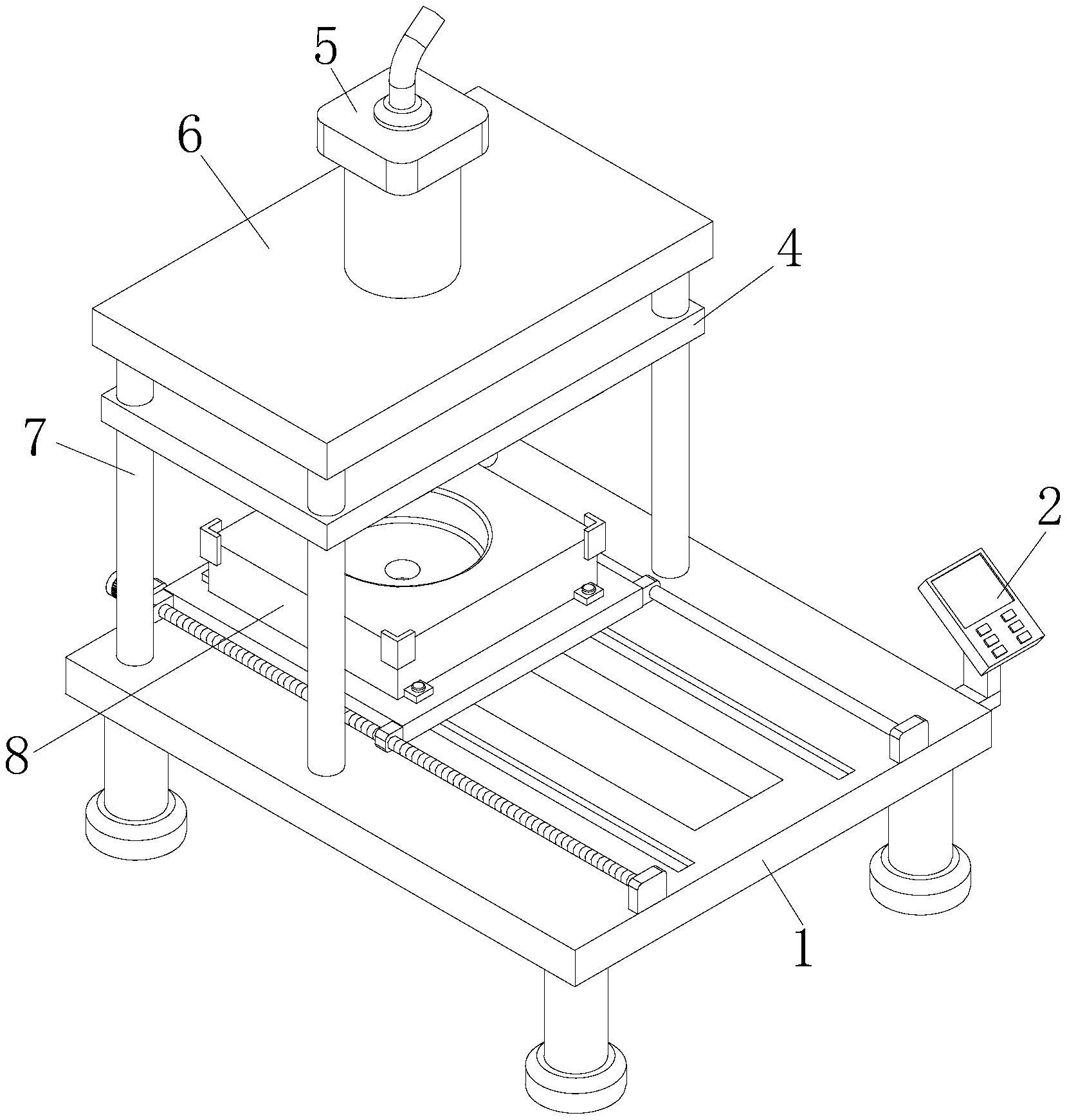
本实用新型公开了一种景泰蓝锅生产用冲压模具,包括底座机构,所述底座机构顶部的后侧焊接有导向柱,所述顶板的顶部通过螺栓贯穿连接有液压推杆,所述液压推杆的底部通过螺栓连接有安装板,所述安装板的底部通过螺栓连接有上模具,所述底座机构的顶部通过螺栓连接有下模具机构。本实用新型通过控制器、上模具、安装板、液压推杆、顶板、安装开口、底座板、丝杆、驱动电机、限位板、第一贯穿孔、下模具、安装竖板、导向滑杆、安装底板、第二贯穿孔、安装架和电动推杆的配合使用,具备下模具可以移动,方便进行上料,防护性更高,避免人员误操作使上模具挤压到人员手部,同时方便把成型锅体从下模具内取出的优点。


