授权公布号:CN218128073U
一种具有防烫伤功能的景泰蓝锅
有效
申请
2022-08-29
申请公布
1970-01-01
授权
2022-12-27
预估到期
2032-08-29
| 申请号 | CN202222271201.8 |
| 申请日 | 2022-08-29 |
| 授权公布号 | CN218128073U |
| 授权公告日 | 2022-12-27 |
| 分类号 | A47J27/10;A47J27/18;A47J36/00;A47J36/06 |
| 分类 | 家具;家庭用的物品或设备;咖啡磨;香料磨;一般吸尘器; |
| 申请人名称 | 涞水县星豪铜艺有限公司 |
| 申请人地址 | 河北省保定市涞水县南桥头 |
专利法律状态
2022-12-27
授权
状态信息
授权
摘要
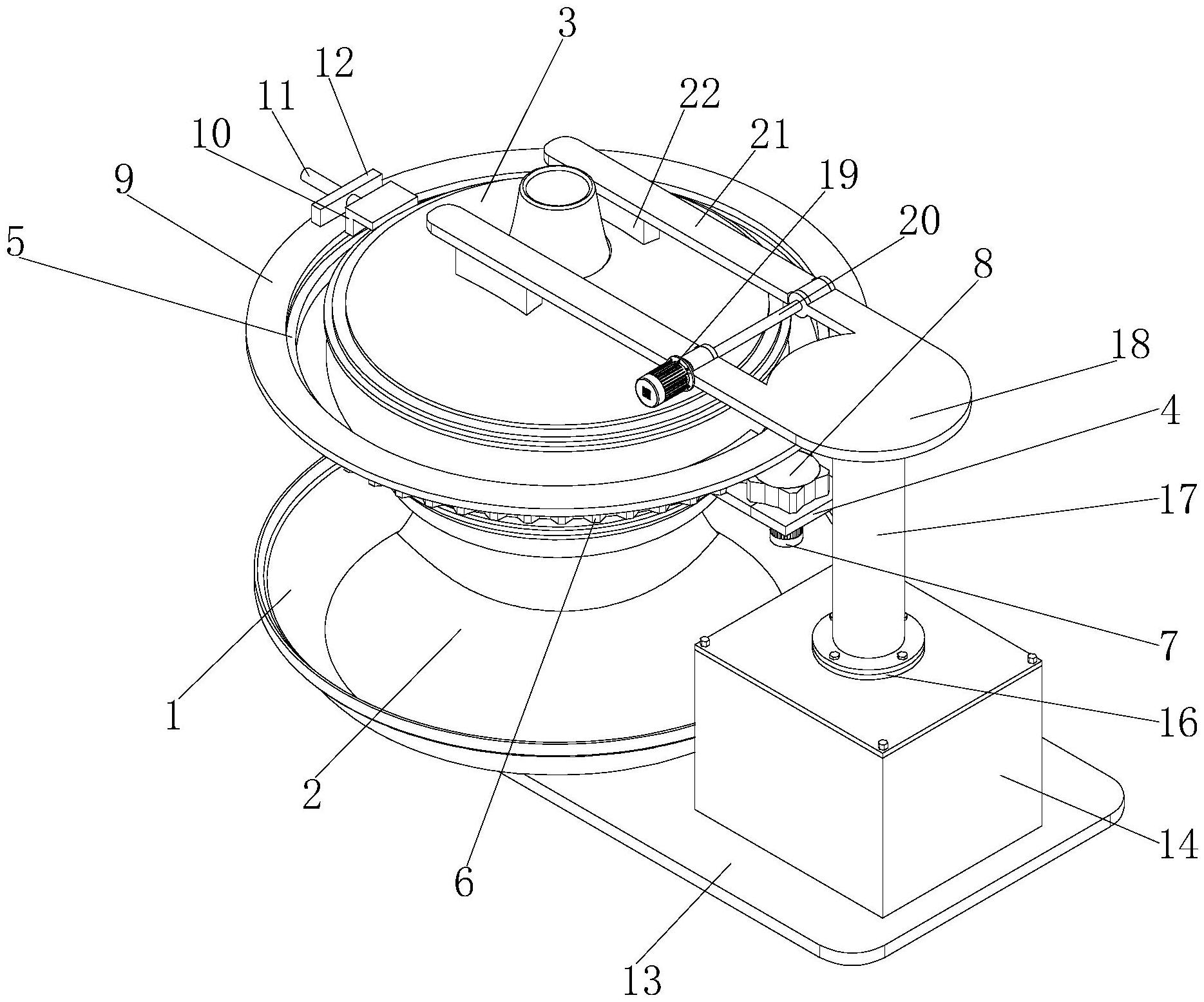
本实用新型公开了一种具有防烫伤功能的景泰蓝锅,包括托盘,所述托盘内腔的底部设置有景泰蓝火锅主体,所述景泰蓝火锅主体的顶部罩设有锅盖。本实用新型通过安装板、固定套、齿环、第一伺服电机、齿轮、安装环板、擦油板、第一电动伸缩杆、固定板、第二伺服电机、转板、第二电动伸缩杆、转动板、锥形转子电机、转杆、带动板和连接块的配合使用,具备自动开盖和对锅边擦油的优点,解决了现有的景泰蓝火锅在烧水时通常都需要将锅盖盖上,在锅中水烧开时,需要人工将锅盖拿起,锅盖较烫可能会将使用者烫伤,不具备对锅边进行擦拭,锅边可能会落有大量火锅油,火锅油若沾染到衣服上不便于吸取的问题。


