授权公布号:CN212464710U
一种夹心面包生产用奶油添加生产线
有效
申请
2020-05-12
申请公布
1970-01-01
授权
2021-02-05
预估到期
2030-05-12
| 申请号 | CN202020773062.7 |
| 申请日 | 2020-05-12 |
| 授权公布号 | CN212464710U |
| 授权公告日 | 2021-02-05 |
| 分类号 | A21C15/00;B65G37/00 |
| 分类 | 焙烤;制作或处理面团的设备;焙烤用面团〔1,8〕; |
| 申请人名称 | 黄山市胡兴堂文化发展有限公司 |
| 申请人地址 | 安徽省黄山市屯溪区迎宾大道38号 |
专利法律状态
2021-02-05
授权
状态信息
授权
摘要
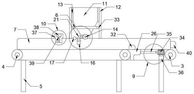
本实用新型提供一种夹心面包生产用奶油添加生产线,包括:连接板、固定板、第一传送带和第二传送带,所述连接板的表面分别安装有第一传送带和第二传送带,所述第一传送带和第二传送带远离连接板的一面安装有固定板,所述连接板、第一传送带、第二传送带和固定板的下方固定连接有多个支撑柱,还包括:涂抹装置、安装板、夹紧装置、转向装置和感应装置,所述第一传送带的上方置有安装板,所述安装板的上表面安装有涂抹装置,所述安装板的上表面位于涂抹装置的左边固定连接有感应装置,此夹心面包生产用奶油添加生产线提高了对夹心面包奶油的涂抹效率,能够将被切成两半的夹心面包贴合,结构简单,实用性强。


