授权公布号:CN110477060B
一种烧饼起酥设备及起酥方法
有效
申请
2019-07-16
申请公布
2019-11-22
授权
2021-04-23
预估到期
2039-07-16
| 申请号 | CN201910640152.0 |
| 申请日 | 2019-07-16 |
| 申请公布号 | CN110477060A |
| 申请公布日 | 2019-11-22 |
| 授权公布号 | CN110477060B |
| 授权公告日 | 2021-04-23 |
| 分类号 | A21B7/00;A21D13/16 |
| 分类 | 焙烤;制作或处理面团的设备;焙烤用面团〔1,8〕; |
| 申请人名称 | 黄山市胡兴堂文化发展有限公司 |
| 申请人地址 | 安徽省黄山市屯溪区迎宾大道38号 |
专利法律状态
2021-04-23
授权
状态信息
授权
2019-12-17
实质审查的生效
状态信息
实质审查的生效IPC(主分类):A21B 7/00
2019-11-22
公布
状态信息
公开
摘要
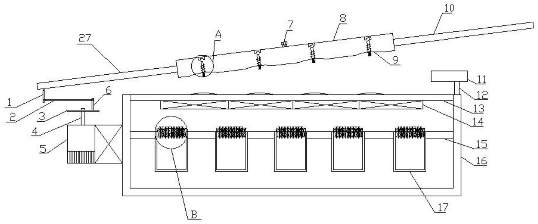
本发明公开了一种烧饼起酥设备,包括箱体,所述箱体顶部拆卸式安装有起酥底板,所述起酥底板上方设置有腔体结构的起酥压板,所述起酥压板底面设置有若干弧面凹槽,所述起酥压板内设置有出油管,所述出油管位于弧面凹槽上方,所述出油管一端伸入弧面凹槽内并设置有出油孔和毛刷,所述出油管另一端与弹簧一端固接,所述弹簧另一端固设在起酥压板内壁上,所述弹簧套设在出油管上。本发明通过将烧饼面团放置于起酥压板上的弧面凹槽内,通过往复移动起酥压板将烧饼面团翻转揉和,并通过毛刷和出油管将起酥压板内的起酥油导入烧饼面团内混合,使烧饼面团与起酥油混合均匀,从而在烤制时使烧饼由内到外皆酥脆可口。


