授权公布号:CN209769993U
一种多功能家用榨汁机
有效
申请
2018-12-28
申请公布
1970-01-01
授权
2019-12-13
预估到期
2028-12-28
| 申请号 | CN201822235819.2 |
| 申请日 | 2018-12-28 |
| 授权公布号 | CN209769993U |
| 授权公告日 | 2019-12-13 |
| 分类号 | A47J19/02;A47J19/06 |
| 分类 | 家具;家庭用的物品或设备;咖啡磨;香料磨;一般吸尘器; |
| 申请人名称 | 广东顺德洁氏生活电器有限公司 |
| 申请人地址 | 广东省佛山市顺德区大良金榜居委会凤翔路一街2号 |
专利法律状态
2021-04-16
专利权质押合同登记的生效、变更及注销
状态信息
专利权质押合同登记的生效、变更及注销
2019-12-13
授权
状态信息
授权
摘要
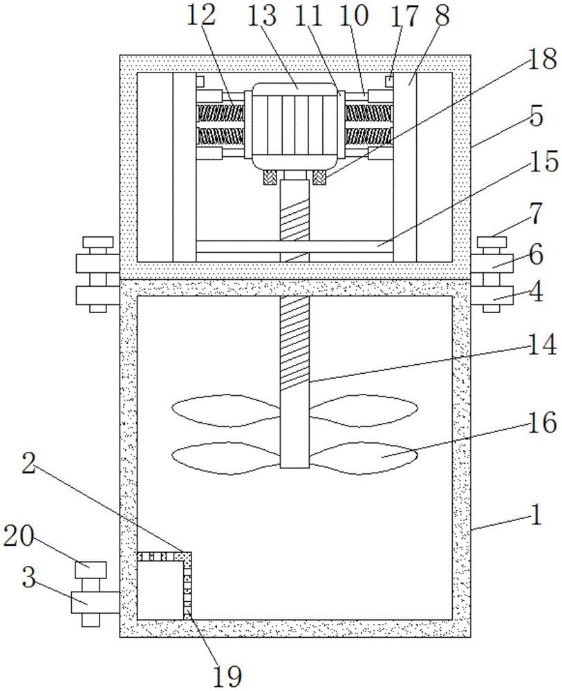
本实用新型公开了一种多功能家用榨汁机,涉及家用榨汁机技术领域。该多功能家用榨汁机,包括榨汁箱,所述榨汁箱的内腔底壁的左侧固定连接有过滤框,所述榨汁箱左侧表面的底部连通有排料管,所述榨汁箱的表面固定连接有第一连接块,所述榨汁箱的顶部活动连接有动力箱,所述动力箱的表面固定连接有第二连接块,所述第二连接块通过螺栓与第一连接块固定连接,所述动力箱的内部固定连接有滑槽板。该多功能家用榨汁机,通过设置滑槽板、滑板、伸缩杆、固定板、电动机、螺纹杆、挡板和叶片,使电动机能够上下移动,并使叶片能够转动的过程中并上下移动,从而使榨汁箱内部的果蔬能够搅拌均匀。


