授权公布号:CN209331797U
一种冲奶器
有效
申请
2018-06-12
申请公布
1970-01-01
授权
2019-09-03
预估到期
2028-06-12
| 申请号 | CN201820902068.2 |
| 申请日 | 2018-06-12 |
| 授权公布号 | CN209331797U |
| 授权公告日 | 2019-09-03 |
| 分类号 | A47J31/00;A47J31/44 |
| 分类 | 家具;家庭用的物品或设备;咖啡磨;香料磨;一般吸尘器; |
| 申请人名称 | 广东顺德洁氏生活电器有限公司 |
| 申请人地址 | 广东省佛山市顺德区大良金榜居委会凤翔路一街2号 |
专利法律状态
2021-04-16
专利权质押合同登记的生效、变更及注销
状态信息
专利权质押合同登记的生效、变更及注销
2019-09-03
授权
状态信息
授权
摘要
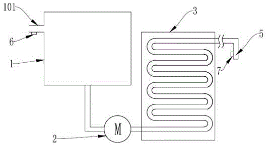
一种冲奶器,包括水箱、出水泵、发热模块和MCU控制模块,所述水箱的出水口通过管道与所述出水泵的进水口连通,所述出水泵的出水口通过管道与所述发热模块连接,所述发热模块的出水口通过管道与所述冲奶器的出液嘴连通,所述出水泵和所述发热模块分别与所述MCU控制模块电连接;还包括出水温度传感器和进水温度传感器;所述出水温度传感器设置在所述出液嘴,且其与所述MCU控制模块电连接;所述进水温度传感器设置在所述水箱的进水口,且其与所述MCU控制模块电连接。本技术方案的冲奶器通过MCU控制模块调控出水泵、进水温度传感器和出水温度传感器,以实现定温定量功能,家长可以按需要选择设定温度,使用方便快捷。


