授权公布号:CN211460111U
一种除尘防滑地垫
有效
申请
2019-11-19
申请公布
1970-01-01
授权
2020-09-11
预估到期
2029-11-19
| 申请号 | CN201922001570.3 |
| 申请日 | 2019-11-19 |
| 授权公布号 | CN211460111U |
| 授权公告日 | 2020-09-11 |
| 分类号 | A47L23/26 |
| 分类 | 家具;家庭用的物品或设备;咖啡磨;香料磨;一般吸尘器; |
| 申请人名称 | 东方伟尚(北京)材料技术有限公司 |
| 申请人地址 | 北京市大兴区北京经济技术开发区文化园西路8号院35号楼13层1308 |
专利法律状态
2020-09-11
授权
状态信息
授权
摘要
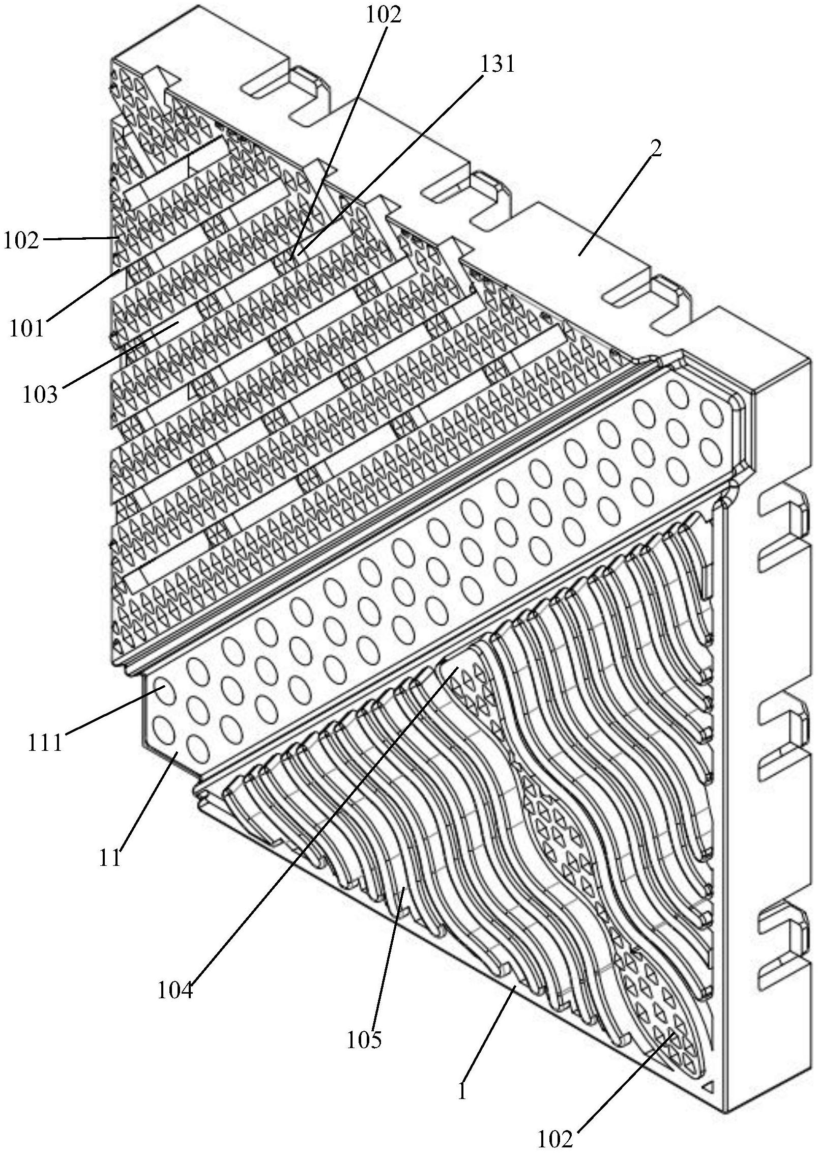
本实用新型公开了一种除尘防滑地垫,方形面板上沿其对角线开设有除尘槽,除尘槽中固定有多簇除尘毛刷;除尘槽将方形面板分隔成第一防滑除尘区和第二防滑除尘区,第一防滑除尘区具有多个与除尘槽平行的条形板,且每个条形板上固定有多个第一除尘防滑凸起,每相邻的两个条形板之间的方形面板上形成有条形漏尘通孔;第二防滑除尘区具有一个分隔部和多个波浪状防滑除尘板,且分隔部上固定有多个第二除尘防滑凸起,多个波浪状防滑除尘板对称设置在分隔部的两侧,每相邻的两个波浪状防滑除尘板之间的方形面板上形成波浪状漏尘通孔。本实用新型公开了一种除尘防滑地垫,清洁度较高,同时提高除尘效率和摩擦力,以此可以增强防滑效果。


