授权公布号:CN215285333U
一种自动称重定量包装装置
有效
申请
2021-04-27
申请公布
1970-01-01
授权
2021-12-24
预估到期
2031-04-27
| 申请号 | CN202120883230.2 |
| 申请日 | 2021-04-27 |
| 授权公布号 | CN215285333U |
| 授权公告日 | 2021-12-24 |
| 分类号 | B65B1/32 |
| 分类 | 输送;包装;贮存;搬运薄的或细丝状材料; |
| 申请人名称 | 厦门良一食品有限公司 |
| 申请人地址 | 福建省厦门市翔安区新圩镇新达路35-39号 |
专利法律状态
2021-12-24
授权
状态信息
授权
摘要
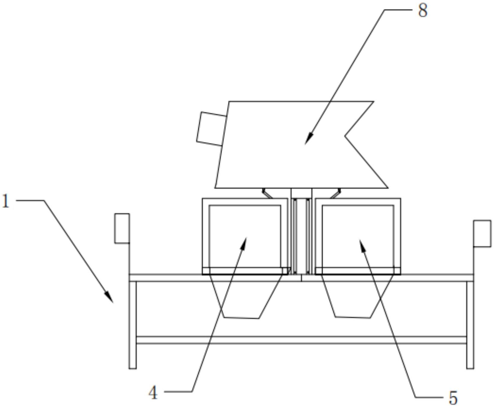
本实用新型公开了一种自动称重定量包装装置,属于食品设备技术领域,包括机架、并列设于机架上的第一进料斗和第二进料斗、设于第一进料斗和第二进料斗之间的固定柱、设于固定柱上方的储料仓、设于机架两侧的第一控制箱和第二控制箱,所述机架与第一进料斗和第二进料斗连接处设有称重感应装置,所述第一进料斗底部设有第一出料口,所述第二进料斗底部设有第二出料口,所述储料仓内部中心设有转换气缸,所述储料仓内部底部设有分别连接第一进料斗和第二进料斗的两个转换头,所述储料仓顶部设有储料仓进料口,本实用新型具有通用于各类生产,适用于多规格少批次的生产情况,有效提升了自动称重定量包装装置的实用性和工作效率的优点。


