授权公布号:CN214760822U
一种陶瓷抽纸盒
有效
申请
2020-12-30
申请公布
1970-01-01
授权
2021-11-19
预估到期
2030-12-30
| 申请号 | CN202023278779.3 |
| 申请日 | 2020-12-30 |
| 授权公布号 | CN214760822U |
| 授权公告日 | 2021-11-19 |
| 分类号 | A47K10/20 |
| 分类 | 家具;家庭用的物品或设备;咖啡磨;香料磨;一般吸尘器; |
| 申请人名称 | 福建省德化龙峰陶瓷有限公司 |
| 申请人地址 | 福建省泉州市德化县浔中镇东坑垅山 |
专利法律状态
2021-11-19
授权
状态信息
授权
摘要
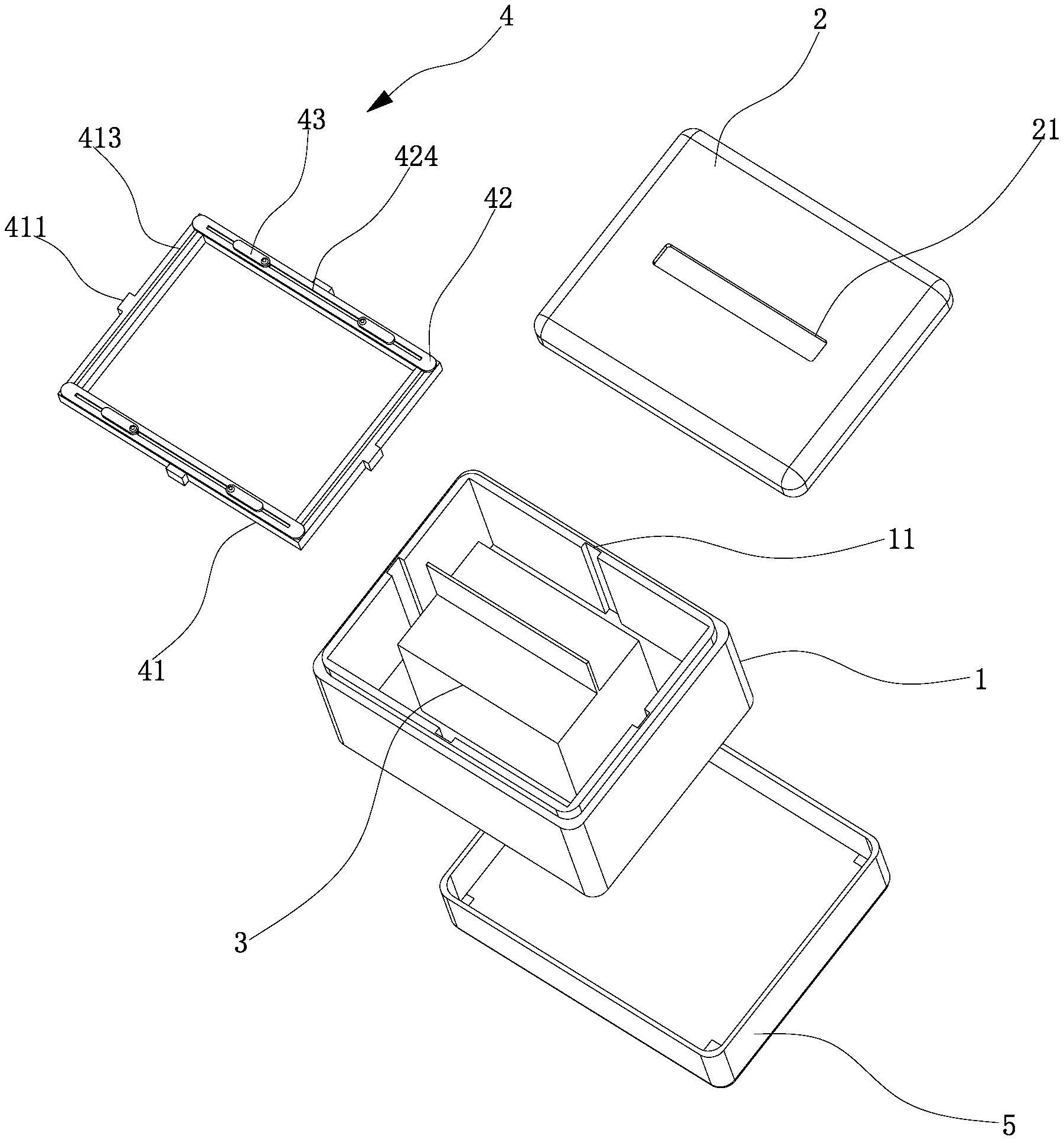
本实用新型涉及陶瓷制品技术领域,特别是一种陶瓷抽纸盒。该种陶瓷抽纸盒,包括盒体、设置在盒体上的盒盖,盒盖上开设有取纸口,盒体内形成用于放置成包抽纸的空腔,还包括安装在盒体空腔的限位装置,限位装置包括导轨框、可滑动的设置在导轨框上的两个限位条,各限位条上分别设有两个限位块,限位块可转动的设置在限位条上,且限位块可沿限位条长度方向滑动;两限位条分别朝成包抽纸方向滑动至将成包抽纸限位于两限位条之间,各限位条的两限位块分别滑动并转动至成包抽纸两侧,以将成包抽纸限位于各限位块之间。本实用新型结构简单,可适用不同规格的成包抽纸。


