授权公布号:CN218762820U
桌面透明树脂工艺灯
有效
申请
2022-09-19
申请公布
1970-01-01
授权
2023-03-28
预估到期
2032-09-19
| 申请号 | CN202222476602.7 |
| 申请日 | 2022-09-19 |
| 授权公布号 | CN218762820U |
| 授权公告日 | 2023-03-28 |
| 分类号 | F21S6/00;F21V3/06;F21V7/04;F21V21/36 |
| 分类 | 照明; |
| 申请人名称 | 福建省德化龙峰陶瓷有限公司 |
| 申请人地址 | 福建省泉州市德化县浔中镇浔中村东坑垅(龙鹏工业园) |
专利法律状态
2023-03-28
授权
状态信息
授权
摘要
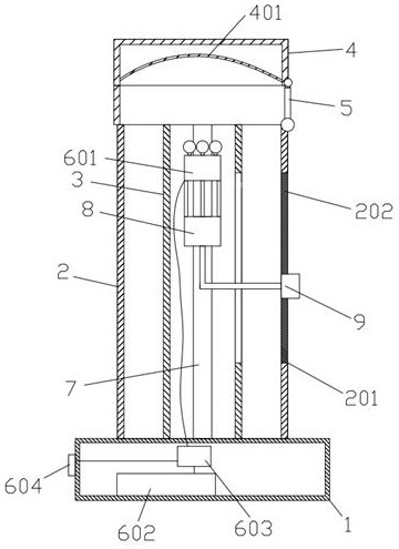
本实用新型涉及一种桌面透明树脂工艺灯,包括底座及设在底座上端的透明树脂灯罩,所述透明树脂灯罩的内部设有照明亮度可调的发光组件,所述发光组件的光源可升降安装在透明树脂灯罩内,所述透明树脂灯罩的顶端设有开口,所述开口上设有可开合的封盖,所述封盖下侧设有反光件,所述透明树脂灯罩的外壁开设有竖向延伸的条形通槽,所述条形通槽内滑动配合有滑块,所述光源与所述滑块传动连接。本实用新型涉的桌面透明树脂工艺灯适合多种使用场景,降低了用户的照明成本。


