授权公布号:CN214104038U
一种多功能水杯
有效
申请
2020-11-27
申请公布
1970-01-01
授权
2021-09-03
预估到期
2030-11-27
| 申请号 | CN202022794719.0 |
| 申请日 | 2020-11-27 |
| 授权公布号 | CN214104038U |
| 授权公告日 | 2021-09-03 |
| 分类号 | A47G19/22 |
| 分类 | 家具;家庭用的物品或设备;咖啡磨;香料磨;一般吸尘器; |
| 申请人名称 | 深圳市贝怡乐婴童用品有限公司 |
| 申请人地址 | 广东省深圳市南山区南头街道南海大道西桃园路南西海明珠花园F座11楼B13 |
专利法律状态
2021-09-03
授权
状态信息
授权
摘要
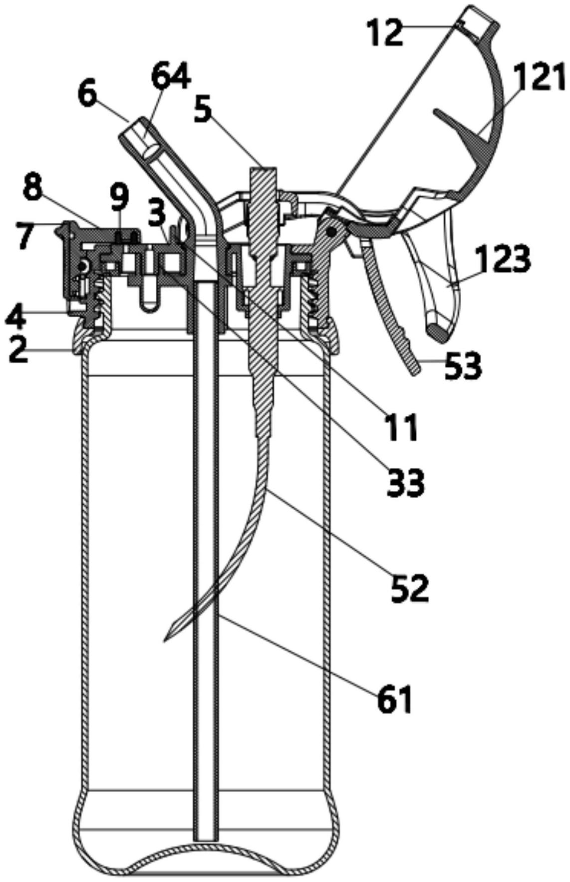
本实用新型公开了一种多功能水杯,包括杯体、旋盖组件、吸嘴组件、喷雾组件及翻盖组件;所述旋盖组件旋接于所述杯体的口部,所述旋盖组件包括旋盖主体及其旋盖内件,所述旋盖内件兼做所述旋盖组件的顶壁;所述吸嘴组件包括饮水吸管部和吸嘴部;所述喷雾组件包括喷雾头、喷雾泵体、喷雾吸管和喷雾按压把手;所述吸嘴组件和所述喷雾组件分别穿过所述旋盖内件并与所述旋盖内件连接;所述翻盖组件一端枢接于所述旋盖组件上,可在外力作用下做盖合状态及打开状态的相互切换。本申请的多功能水杯,即可饮水又可喷雾降温,能满足多方面需求,此外,其结构设计既方便加工和功能的扩展,又方便清洁保养等,用户体验好。


