授权公布号:CN212651369U
一种苦荞加工用多效浓缩装置
有效
申请
2020-02-28
申请公布
1970-01-01
授权
2021-03-05
预估到期
2030-02-28
| 申请号 | CN202020232420.3 |
| 申请日 | 2020-02-28 |
| 授权公布号 | CN212651369U |
| 授权公告日 | 2021-03-05 |
| 分类号 | B01D1/26;B01D1/30 |
| 分类 | 一般的物理或化学的方法或装置; |
| 申请人名称 | 西昌市正中食品有限公司 |
| 申请人地址 | 四川省凉山彝族自治州西昌市小庙乡成凉工业园食品产业园 |
专利法律状态
2021-03-05
授权
状态信息
授权
摘要
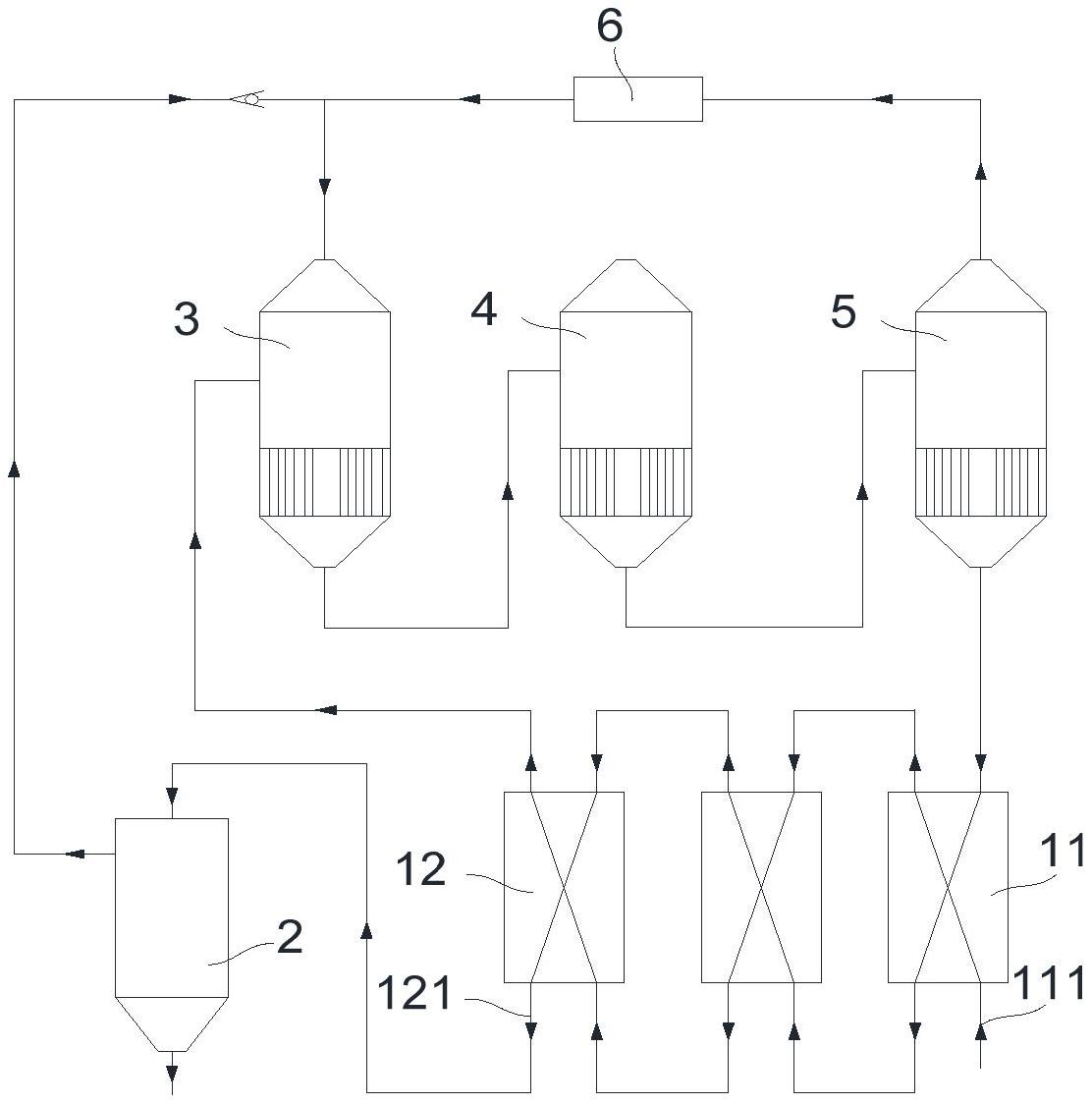
本实用新型公开了一种苦荞加工用多效浓缩装置,用于将苦荞原液浓缩成浓缩液,包括第一蒸发器、第二蒸发器和第三蒸发器,还包括预热组件,所述预热组件包括依次串联的若干预热器,其中一个预热器为首端预热器,另一个预热器为末端预热器,所述首端预热器设有原液进料口,所述末端预热器设有浓缩液出料口,所述浓缩液从首端预热器流入,经若干预热器后从末端预热器的浓缩液出料口流出;所述原液从首端预热器的原液进料口流入,经若干预热器后,从末端预热器流出进入第一蒸发器。本实用新型能对浓缩液具有的热量进行有效利用,减少热能浪费,降低生产成本。


