授权公布号:CN207187180U
一种内循环高效破碎式植物成分提取装置
有效
申请
2017-09-13
申请公布
1970-01-01
授权
2018-04-06
预估到期
2027-09-13
| 申请号 | CN201721172859.6 |
| 申请日 | 2017-09-13 |
| 授权公布号 | CN207187180U |
| 授权公告日 | 2018-04-06 |
| 分类号 | B01D11/02 |
| 分类 | 一般的物理或化学的方法或装置; |
| 申请人名称 | 广州市碧莹化妆品有限公司 |
| 申请人地址 | 广东省广州市白云区钟落潭良田村23社良沙中路68号 |
专利法律状态
2018-04-06
授权
状态信息
授权
摘要
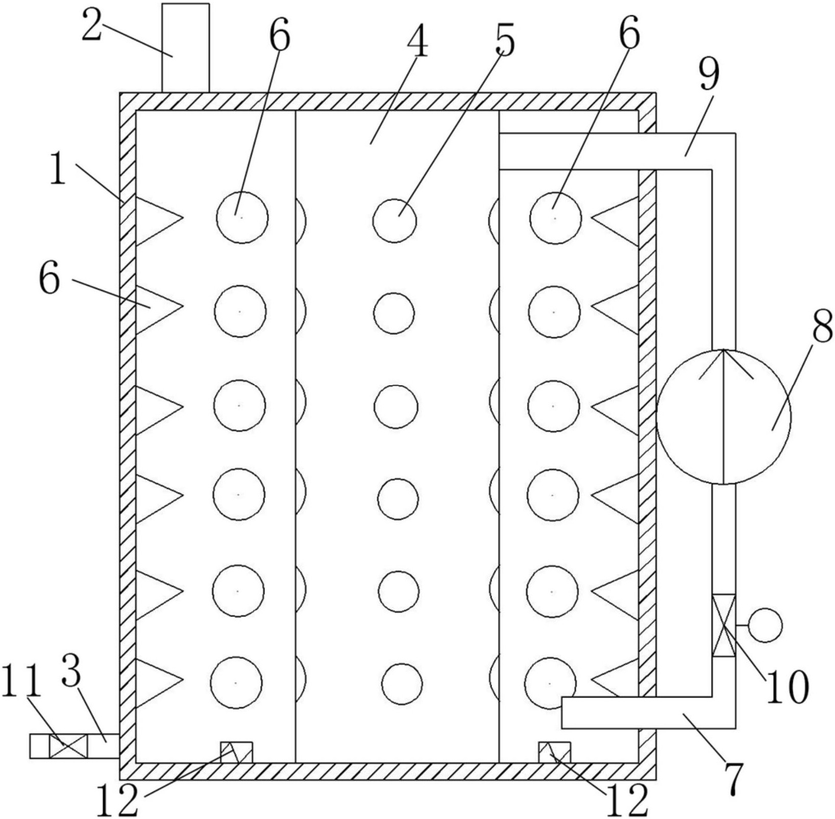
一种内循环高效破碎式植物成分提取装置,包括壳体、与壳体连通的进料管、与壳体连通的排液管,其特征是,所述壳体为长方体状壳体,壳体的中央设置有喷淋筒,喷淋筒固接于壳体的顶壁和底壁之间,喷淋筒上开设有多个喷淋孔;壳体的四个内壁上固接有多个锥钉,壳体的底部插入吸入管,吸入管的开口置于壳体内且位于喷淋筒外,吸入管与循环泵连通,循环泵的出口管穿过壳体与喷淋筒的上部连通。


