授权公布号:CN207121070U
一种化妆品物料挤出装置
有效
申请
2017-08-09
申请公布
1970-01-01
授权
2018-03-20
预估到期
2027-08-09
| 申请号 | CN201720992275.7 |
| 申请日 | 2017-08-09 |
| 授权公布号 | CN207121070U |
| 授权公告日 | 2018-03-20 |
| 分类号 | B65D83/76 |
| 分类 | 输送;包装;贮存;搬运薄的或细丝状材料; |
| 申请人名称 | 广州市碧莹化妆品有限公司 |
| 申请人地址 | 广东省广州市白云区钟落潭良田村23社良沙中路68号 |
专利法律状态
2018-03-20
授权
状态信息
授权
摘要
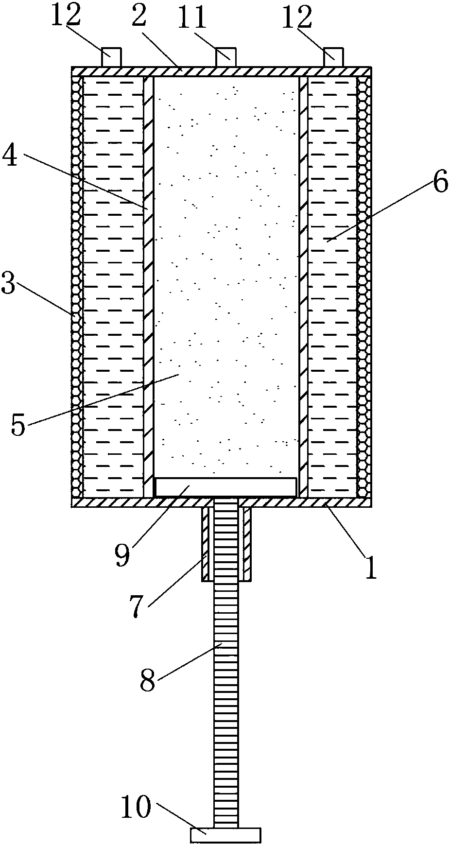
一种化妆品物料挤出装置,其特征是,包括底板、顶板、固接于底板和顶板之间的软皮外壳,底板和顶板均为圆板状,底板和顶板之间固接有圆筒,圆筒内构成第一容纳空间,圆筒与软皮外壳之间构成第二容纳空间;底板的底端固接有螺纹筒,螺纹筒中旋接螺纹杆,螺纹杆的上端固接挤压板,螺纹杆的下端固接凸沿,螺纹杆穿过底板;第一容纳空间上方的顶板上连通第一挤出口,第二容纳空间上方的顶板上连通第二挤出口。


