授权公布号:CN104943459B
提钮结构
有效
申请
2014-03-31
申请公布
2015-09-30
授权
2019-03-01
预估到期
2034-03-31
| 申请号 | CN201410123424.7 |
| 申请日 | 2014-03-31 |
| 申请公布号 | CN104943459A |
| 申请公布日 | 2015-09-30 |
| 授权公布号 | CN104943459B |
| 授权公告日 | 2019-03-01 |
| 分类号 | B44C5/00 |
| 分类 | 装饰艺术; |
| 申请人名称 | 广州渡和堂文化有限公司 |
| 申请人地址 | 广东省广州市番禺区市桥长堤西路192号 |
专利法律状态
2019-05-03
专利权人的姓名或者名称、地址的变更
状态信息
专利权人的姓名或者名称、地址的变更IPC(主分类):B44C 5/00变更前 专利权人:广州渡和堂茶具有限公司 地址:511400 广东省广州市番禺区市桥长堤西路192号变更后 专利权人:广州渡和堂文化有限公司 地址:511400 广东省广州市番禺区大龙街金禺西街71号4栋(4栋)1404房
2019-03-01
授权
状态信息
授权
2015-11-04
实质审查的生效
状态信息
实质审查的生效IPC(主分类):B44C 5/00申请日:20140331
2015-09-30
公布
状态信息
公开
摘要
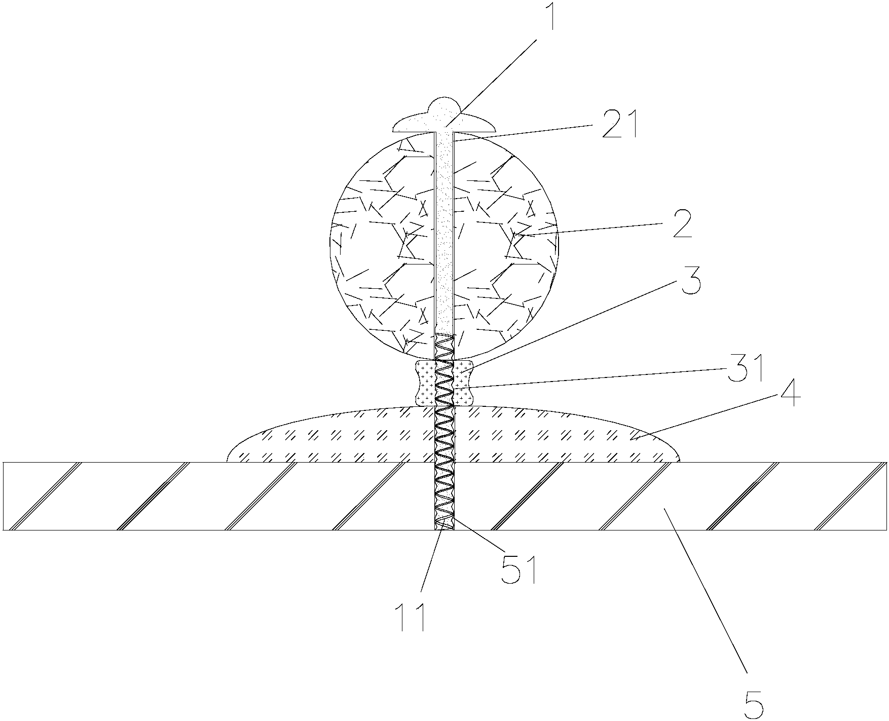
此种提钮结构,其特征在于:将提钮芯(1)穿过提钮孔(21),然后让提钮芯外牙(11)与固定箍内牙(31)旋转接触,使得固定箍(3)上端与提钮(2)相接处;继续将提钮芯(1)穿过底座(4)中间的圆孔,使得底座(4)上端与固定箍(3)下端相接触;最后将提钮芯外牙(11)与盖子内牙(51)旋转后固定,使得所述底座(4)下端与盖子(5)相接触。


